EasyManua.ls Logo

BlueStar FBFD361 - Erreur de Température Élevée; Mode Sabbat; Mode Showroom

BlueStar FBFD361
96 pages
Print Icon
To Next Page IconTo Next Page
To Next Page IconTo Next Page
To Previous Page IconTo Previous Page
To Previous Page IconTo Previous Page
Loading...
22'3
Réfrigérateur / Manuel d'utilisation
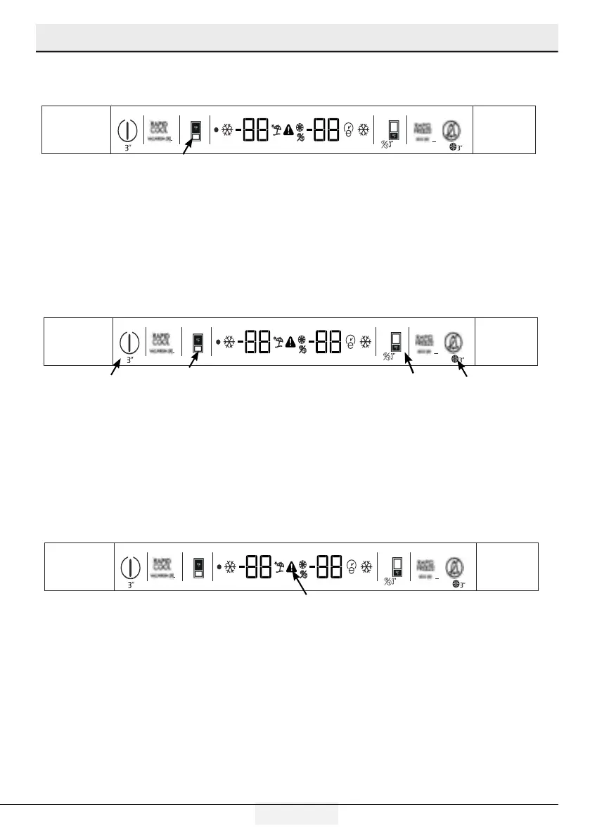
5.2 Mode Sabbat
Appuyez sur la touche de fonction « Fresh Food Temp Set » pendant 3 secondes pour activer ou
désactiver le mode Sabbat. Lorsque le mode Sabbat est activé, les boutons d'affichage, d'alarme,
d'ouverture de porte ou d'éclairage ne fonctionnent pas. « SA » s'affiche à l'écran. L’algorithme de
refroidissement est réglé en fonction du mode sabbat. Si l’utilisateur ne désactive pas le mode Sabbath,
le réfrigérateur l’annulera automatiquement en 72 heures.
Touche de réglage de la température des aliments frais
L'icône d'erreur de température élevée s'affiche lorsque la température du congélateur est trop élevée
après les 72 premières heures de fonctionnement. Si la température du congélateur atteint 28Fº (-2,2ºC) ou
plus et ne redescend pas en dessous de 16 ºF (-9 ºC) dans les 12 heures, l'icône d'erreur de température
élevée s'allume, une alarme retentit et la température réglée et la température la plus élevée atteinte dans
le congélateur alternent à l'écran. Si vous appuyez sur la touche « Alarm Off », l'alarme s'arrêtera, mais
MhJDÙOFFUMBUFNQÏSBUVSFDMJHOPUBOUFDPOUJOVFSPOUKVTRVhËDFRVFMFDPOHÏMBUFVSEFTDFOEFFOEFTTPVTEF
16 ºF (-9 ºC). Si le congélateur ne refroidit pas en dessous de 16 ºF (-9 ºC) dans les 3,5 heures suivantes,
l'alarme sonore se déclenchera à nouveau. L'alarme sonore peut à nouveau être désactivée à l'aide de la
touche « Alarm Off ». Si l'erreur persiste, il faut vérifier la fermeture et l'étanchéité des portes. Une cause
fréquente de cette erreur est une panne de courant dans le circuit auquel le réfrigérateur est connecté. Si
l'icône continue de revenir, il faut appeler un technicien agréé pour inspecter l'appareil.
5.4 Erreur de température élevée
5.3 Mode Showroom
Le mode Showroom est une option principalement utilisée dans les salles d'exposition des concessionnaires. Il permet d'allumer
le produit sans faire fonctionner les ventilateurs et le système de refroidissement. Pour activer ce mode, appuyez et maintenez
FOGPODÏFTMFTUPVDIFTj1PXFSxFUj"MBSN0GGxKVTRVhËDFRVF14BQQBSBJTTF$IBOHF[MFFOFOBQQVZBOUTVSMBUPVDIF
j'SFF[FS5FNQFSBUVSF4FUx"QQVZF[FOTVJUFTVSMBUPVDIFj'SFTI'PPE5FNQFSBUVSF4FUx3ÏHMBHFEFMBUFNQÏSBUVSFEFT
aliments frais) pour l'activer. Pour désactiver, appuyez à nouveau sur les touches « Power » et « Alarm Off ».
Puissance Alarme désactivée
Réglage de la température du
congélateur
Réglage de la température des aliments frais
Icône d'erreur de température élevée
Modes et indications spéciaux

Table of Contents