EasyManua.ls Logo

BlueStar FBFD361 - Page 41

BlueStar FBFD361
96 pages
Print Icon
To Next Page IconTo Next Page
To Next Page IconTo Next Page
To Previous Page IconTo Previous Page
To Previous Page IconTo Previous Page
Loading...
8&4
Frigorífico / Manual del usuario
Instalación
"
!
"
"
"
"
"
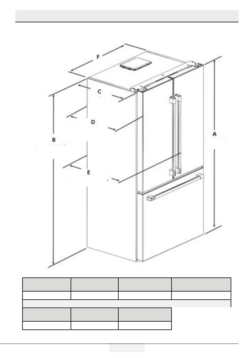
Altura-Total “A Altura-Parte Superior
del Armario“B”
Profundidad-Sólo
Armario “C” “O”
Profundidad-Sin Asas “D”
71 1 /16” ( 1780 mm ) 68 5/8”( 1743 mm ) 23 5/8” ( 600 mm ) 26 7/8” ( 683 mm )
Profundidad Con Asas
“E”
Ancho-Armario “F” ProfundidadTotal-
CajónAbierto “H”
29 1 /16” ( 738 mm ) 35 3/4”( 908 mm ) 46 11/16” ( 1186 mm )
armario
en general
incluye asa
parte superior del
armario
no incluye asa

Table of Contents