EasyManua.ls Logo

BlueStar FBFD361 - Page 72

BlueStar FBFD361
96 pages
Print Icon
To Next Page IconTo Next Page
To Next Page IconTo Next Page
To Previous Page IconTo Previous Page
To Previous Page IconTo Previous Page
Loading...
8'3
Réfrigérateur / Manuel d'utilisation
Installation
"
!
"
"
"
"
"
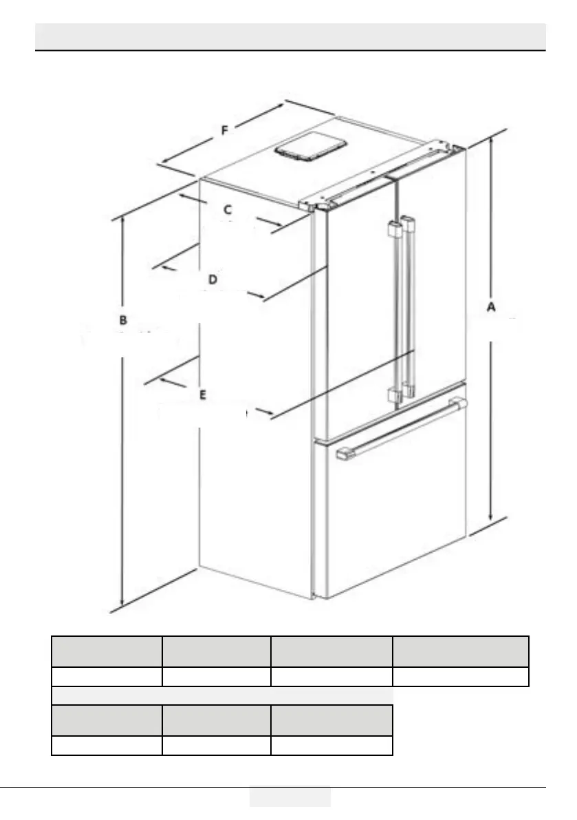
Armoire
ensemble
y compris la
poignée
partie supérieure de
l’armoire
hormis la
poignée
Hauteur hors-tout
« A »
Hauteur-Haut de
l'armoire « B »
Profondeur-
ArmoireSeule « C » « O »
Profondeur-Sans Poignées
« D »
71 1 /16” ( 1780 mm ) 68 5/8”( 1743 mm) 23 5/8” ( 600 mm ) 26 7/8” ( 683 mm )
Profondeur - Avec
poignées « E »
Largeur-Armoire « F » Profondeur totale - Tiroir
ouvert « H »
29 1 /16” ( 738 mm ) 35 3/4”( 908 mm ) 46 11/16” ( 1186 mm )

Table of Contents