EasyManua.ls Logo

BORNIAK BBD-70 - Assembly and Installation

BORNIAK BBD-70
17 pages
Print Icon
To Next Page IconTo Next Page
To Next Page IconTo Next Page
To Previous Page IconTo Previous Page
To Previous Page IconTo Previous Page
Loading...
Page 12
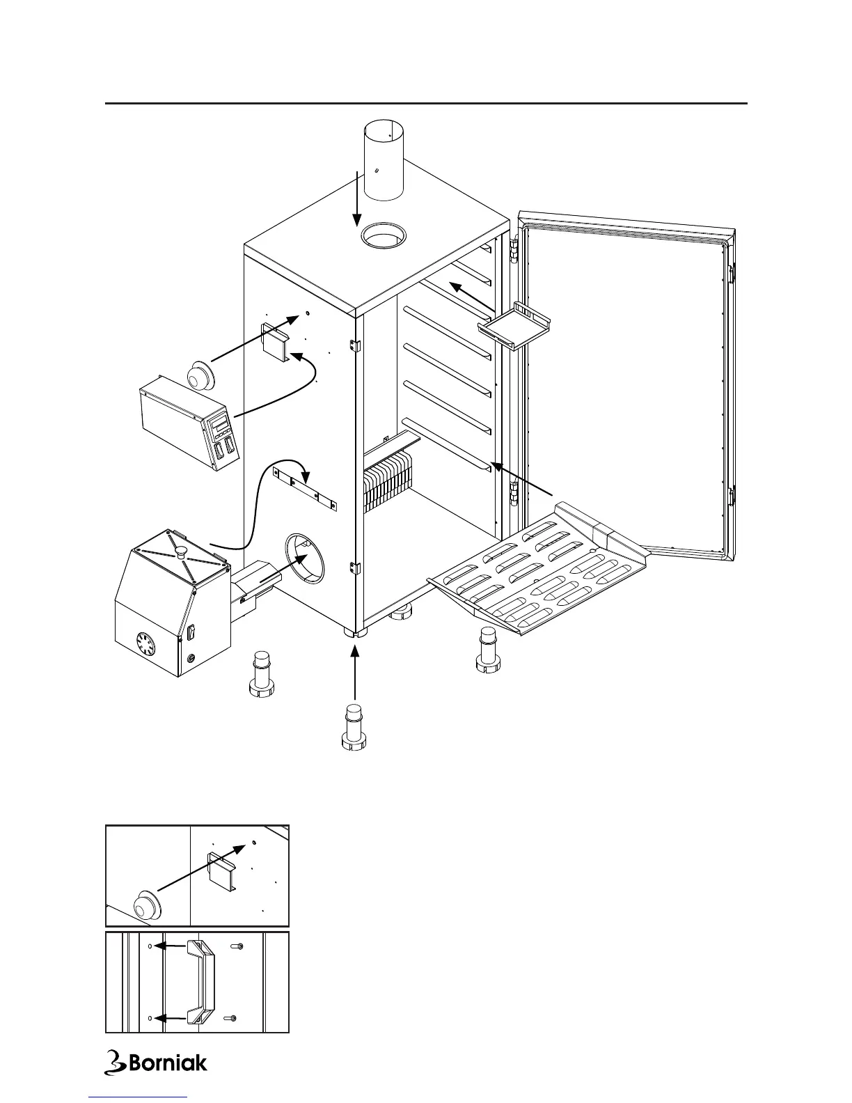
VII. Assembly and installation
1. After taking out of the carton, remove unnecessary packaging
and elements protecting the product and read the instructions.
2. Screw two handles to carry the device.
3. Screw the handle to open the door.
Wsunąć
Wsunąć
Wsunąć

Related product manuals