EasyManua.ls Logo

Bosch 00634738 - Installation of Elec;Ind Corner Covers Kit; Tools and Preparation; Installation Procedure

Bosch 00634738
16 pages
Print Icon
To Next Page IconTo Next Page
To Next Page IconTo Next Page
To Previous Page IconTo Previous Page
To Previous Page IconTo Previous Page
Loading...
English 3
Installation of Elec/Ind Corner Covers Kit - 00634738
Tools Needed
Torx T20 screwdriver
•gloves
1¼ wrench (if range height needs adjustment)
Preparation
IMPORTANT!
If the range is already installed, can the range slide out
enough to give access to the side screws of the rear trim?
See Figure 1: Identify right and left corner covers, top view
of range and Figure 2: Rear trim side screw location, right
rear side of range.
If the range is not yet installed or can slide out,
continue to the Procedure.
If the range is already installed and cannot slide out,
contact a qualified service technician to disconnect the
electrical connections that prevent the range from
being pulled out before continuing to the Procedure.
Read the Tip Over Warning in the Safety section of this
manual. Be aware of this when the range has been
pulled out of the anti-tip bracket for this installation.
Procedure
1. Confirm that the range is cool enough to be handled on
all surfaces.
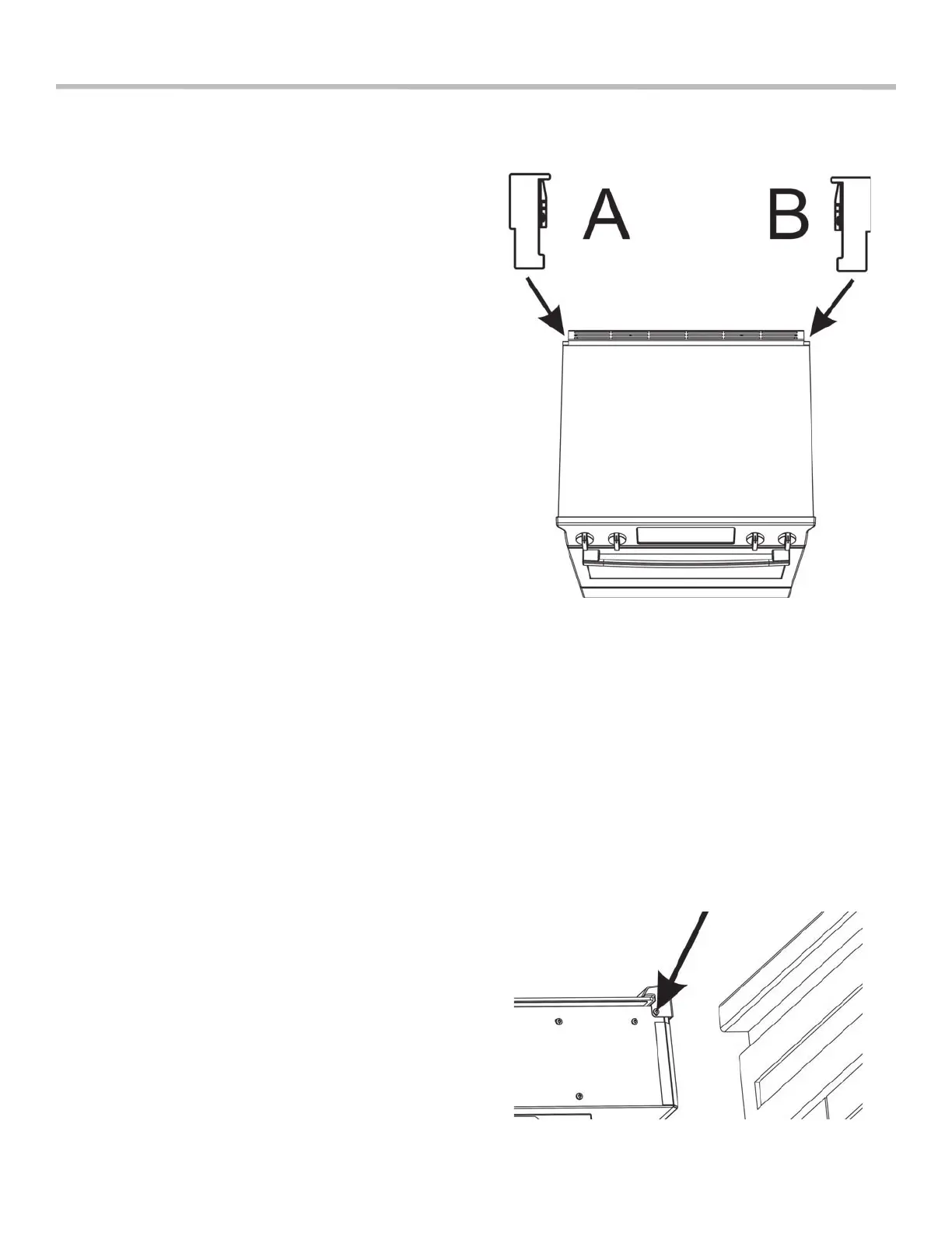
2. Identify which corner cover piece is to be attached to
the left (A) and right (B) rear of the range. See
Figure 1.
Figure 1: Identify right and left corner covers, top view of
range
3. Slide the range out enough to access the rear trim side
mounting screws (see Figure 2: Rear trim side screw
location, right rear side of range). Read the Proper
Handling Technique Notice in the Safety Section of this
manual.
4. Remove only the two side screws holding the rear trim
(one on each side)(see Figure 2: Rear trim side screw
location, right rear side of range). Save these screws to
attach the corner covers. If there are no screws in
these locations, screws are included in the kit for this
purpose.
Figure 2: Rear trim side screw location, right rear side of
range

Related product manuals