EasyManua.ls Logo

Bosch Active Plus - Page 37

Bosch Active Plus
60 pages
Print Icon
To Next Page IconTo Next Page
To Next Page IconTo Next Page
To Previous Page IconTo Previous Page
To Previous Page IconTo Previous Page
Loading...
Svenska4
Bosch eBike Systems 1 270 020 XBI | (11.4.16)
Gångstödet kopplas ur snart som något av följande inträffar:
Knappen ”+” 12 släpps,
hjulen på eBike blockeras (t.ex. genom bromsning eller om
du kör på ett hinder),
hastigheten överskrider 6 km/h.
Anvisning: På vissa system kan gångstödet startas direkt
genom ett tryck på ”WALK”-knappen.
Visningar och inställningar av cykeldatorn
Hastighets- och avståndsindikeringar
hastighetsmätaren f indikeras alltid aktuell hastighet.
I funktionsindikeringen (kombination av textindikering d
och värdeindikering e) kan följande funktioner väljas:
”Tid”: aktuellt klockslag
”Maximalt”: max. hastighet från senaste nollställning
”Genomsnitt”: medelhastighet från senaste nollställning
”Körtid”: Tripptid från senaste nollställning
”Räckvidd”: sannolik körsträcka med aktuell batteriladdning
(vid oföränderliga villkor som hjälpnivå, linjeprofil m.m.)
”Sträcka totalt”: visning av den totala distans som avver-
kats med eBike (inte återställningsbar)
NuVinci trampfrek./växel”: Denna menypunkt visas
bara i kombination med en Nu Vinci H|Sync-automatisk
växellåda.
Om du trycker på knappen ”i” längre än 1 s når du NuVinci-
menypunkten från varje menypunkt i informationsmenyn.
För att skifta från driftssättet NuVinci trampfrek.” till
driftssättet NuVinci växel” trycker du på knappen ”i”
under 1 s.
För att skifta från driftssättet NuVinci växel” skifta till
driftssättet NuVinci trampfrek.” räcker en kort tryck-
ning på knappen ”i”.
Standardinställningen är NuVinci trampfrek.”.
”Växel”: Denna menypunkt visas bara i kombination med
en Shimano-Di2-navväxel. På displayen visas den för till-
fället ilagda växeln. Vid varje byte av växel visas den nyin-
lagda växeln (Gear) kort på displayen.
Autom. val av väx.”: Denna menypunkt visas bara i
kombination med en automatisk växellåda av typen SRAM.
Genom att trycka på knappen ”i” under mer än 1 s kan du
växla fram och tillbaka mellan det automatiska läget
Autom. val av väx.” och det manuella läget
Växel”.
Om du befinner dig i den första växeln i det manuella läget
kan du också genom att trycka på knappen 11 komma
till läget Autom. val av väx.”. Genom att återigen
trycka på knappen 11 kan du skifta tillbaka till det
manuella läget. Det går också att nå det manuella läget
genom att trycka på knappen
”+” 12.
”Sträcka”: åkt distans från senaste återställning
För att växla till visningsfunktionen tryck på knappen ”i 1
på cykeldatorn eller knappen ”i” 10 på manöverenheten tills
önskad funktion visas.
För Reset av ”Sträcka”, ”Körtid” och ”Genomsnitt” koppla
om till en av dess tre funktioner och tryck sedan knappen
”RESET” 6 tills indikeringen nollställs. Härvid nollställs även
de båda andra funktionerna.
För Reset av ”Maximalt” koppla om till denna funktion och
tryck sedan knappen ”RESET” 6 tills indikeringen nollställs.
För återställning af ”Räckvidd” växlar du till denna funktion
och trycker på och håller inne knappen RESET” 6 tills indike-
ringen har återställts till fabriksinställningsvärdet.
Om cykeldatorn tas ut ur hållaren 4 förblir funktionernas
samtliga värden sparade och kan visas även i fortsättningen.
Visning/anpassning av grundinställningarna
Visning och ändring av grundinställningar kan göras oavsett
om cykeldatorn sitter i sin hållare 4 eller inte. Vissa inställ-
ningar syns endast och kan endast ändras vid isatt cykeldator.
Beroende på din eBikes utrustning kan vissa menypunkter
saknas.
För att hämta menyn för grundinställningar tryck samtidigt
knappen ”RESET” 6 och knappen ”i” 1 tills textdisplayen
visar d ”Settings”.
För byte mellan grundinställningarna, tryck på knappen ”i”
1 på cykeldatorn tills önskad grundinställning visas. Om
cykeldatorn sitter i sin hållare
4 kan du också trycka på knap-
pen ”i” 10 på manöverenheten.
För att ändra grundinställningarna, tryck på till-/frånknap-
pen 5 bredvid visningen för att minska eller bläddra
neråt, eller på knappen belysning 2 bredvid visningen ”+” för
att öka eller bläddra uppåt.
Om cykeldatorn sitter i hållaren 4 kan ändringen också göras
med knapparna 11 resp. ”+” 12 på manöverenheten.
För att lämna funktionen och spara en ändrad inställning,
tryck på knappen ”RESET” 6 i 3 sekunder.
Följande grundinställningar står till buds:
”– Tid +”: Aktuell tid kan ställas in. Håll inställningsknap-
parna längre tid nedtryckta för snabbare ändring av tiden.
”– Hjulomkrets +”: Detta värde som förinställts av tillver-
karen kan du ändra ca ±5 %. Denna menypunkt visas
endast när cykeldatorn sitter i sin hållare.
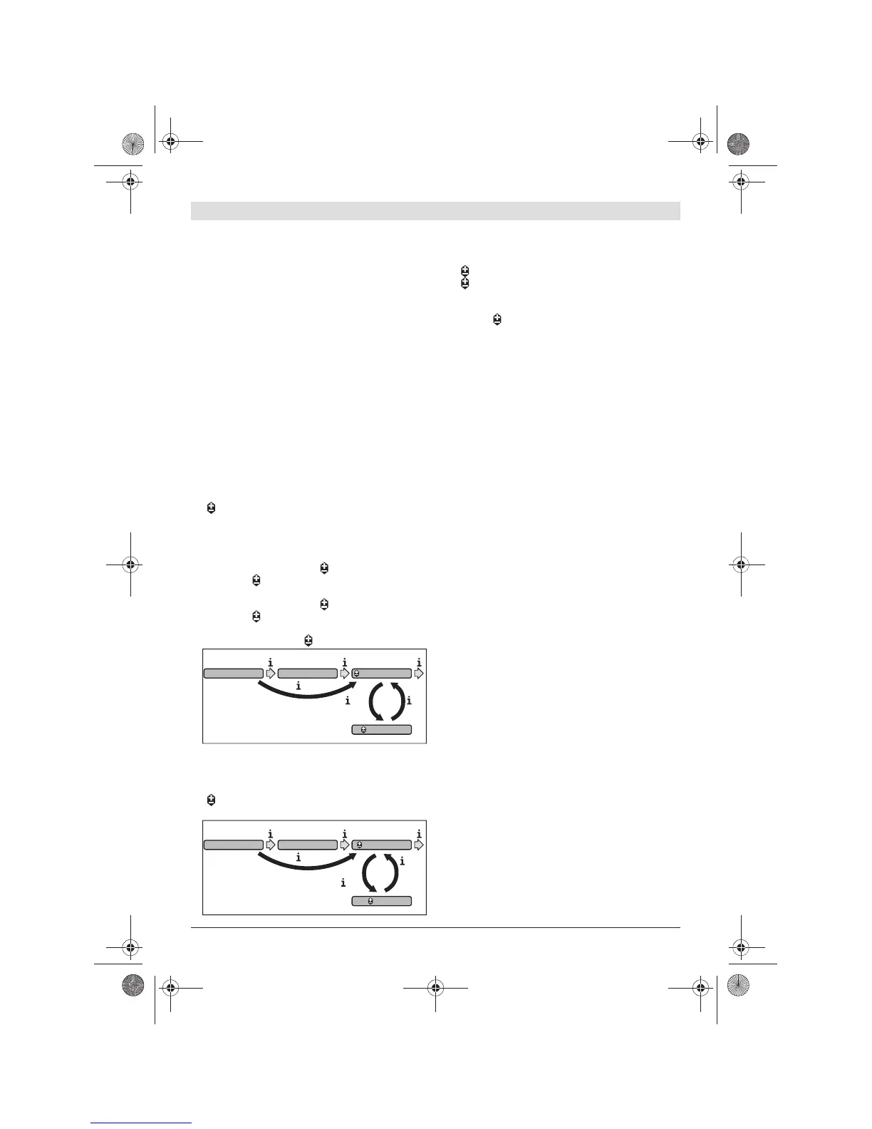
ckvidd Sträcka totalt NuVinci trampfrek.
(1 s)
(1 s)
NuVincixel
ckvidd Sträcka totalt Autom. val av väx.
(1 s)
(1 s)
Växel
(1 s)
OBJ_BUCH-2795-001.book Page 4 Monday, April 11, 2016 4:27 PM

Other manuals for Bosch Active Plus

Related product manuals