EasyManua.ls Logo

Bosch Fireray 50RV - Page 6

Bosch Fireray 50RV
14 pages
Print Icon
To Next Page IconTo Next Page
To Next Page IconTo Next Page
To Previous Page IconTo Previous Page
To Previous Page IconTo Previous Page
Loading...
Installation Instructions Linear Smoke Detector Fireray 50/100RV
ST/PMF/zab
610-F.01U.002.706 / A2.en
Page 6 of 14
1
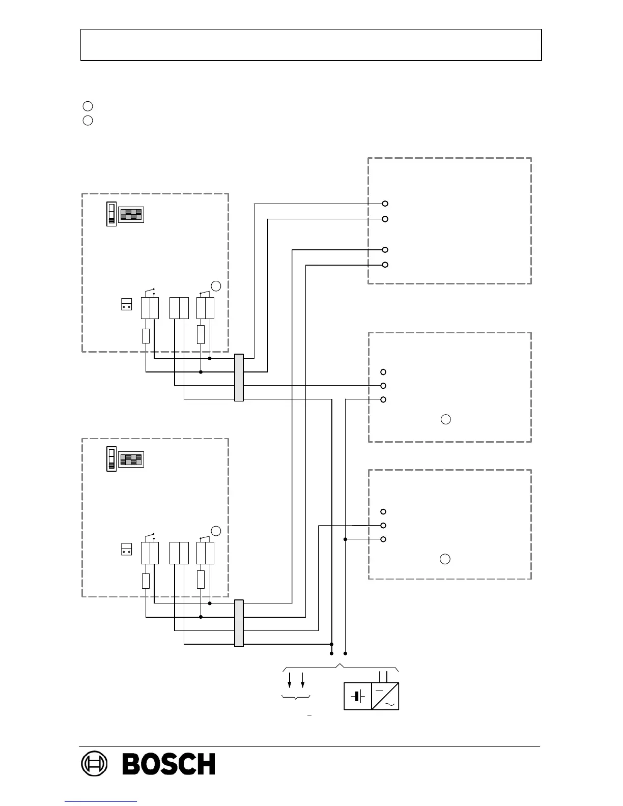
Bridges Br1, Br2 on the NSB 100 in position 2-3 (see connection of one Fireray 50/100RV)
FAULT
ALARM
Power sup-
ply 10 - 30
V
Fireray 50/100 RV
rd
bl
NO
COM
NC
COM
ye
blk
gn wh
2
2
Contacts in open position
Configuration for LSN:
Parameterize the NSB in the control panel to control output
KA1-KA2/KR-R-RR and “Control with Fireray”.
Observe assignment to detector groups/detectors (see example).
Output
for key switch
(optional)
Operating mode
switch
DIP switch
(recommended
settings)
+
820
Connection of two Fireray 50/100RV to fire panel with cross zoning via an NBK
100 LSN and two NSB100 LSNs
V1
V2
Line 2
VI1
VI2
Line 1
V1
V2
Line 2
VI1
VI2
Line 1
NBK 100 LSN
NSB 100 LSN
V1 KR
V2 KA1
V3 KA2
NSB 100 LSN
V1 KR
V2 KA1
V3 KA2
3k92
FAULT
ALARM
Power sup-
ply 10 - 30
V
Fireray 50/100 RV
NO
COM
NC
COM
2
Operating mode
switch
820
3k92
Parameterize, e.g. to 127/1
Parameterize, e.g. to
KA1-KA2-KR-150/2
Parameterize, e.g. to
KA1-KA2-KR-500/2
-
+
-
rd blk
bl ye gn wh
(if voltage drop < 6V)
-U +U
-U +U
I3 I4
NSB 100
EV 24 V - 24 V
150/1 cross zoning with 500,
current trigger criterion
6 DA mini
distributor
6 DA mini
distributor
Output
for key switch
(optional)
Parameterize, e.g. to 127/2
Parameterize, e.g. to 127/3
500/1 cross zoning with 150,
current trigger criterion
1
1
DIP switch
(recommended
settings)

Related product manuals