EasyManua.ls Logo

Bosch KBR16-3 - Wiring

Bosch KBR16-3
100 pages
Print Icon
To Next Page IconTo Next Page
To Next Page IconTo Next Page
To Previous Page IconTo Previous Page
To Previous Page IconTo Previous Page
Loading...
Common Applications of KBR boilers | 29
6 720 810 590 (2015/05)
Greenstar FS
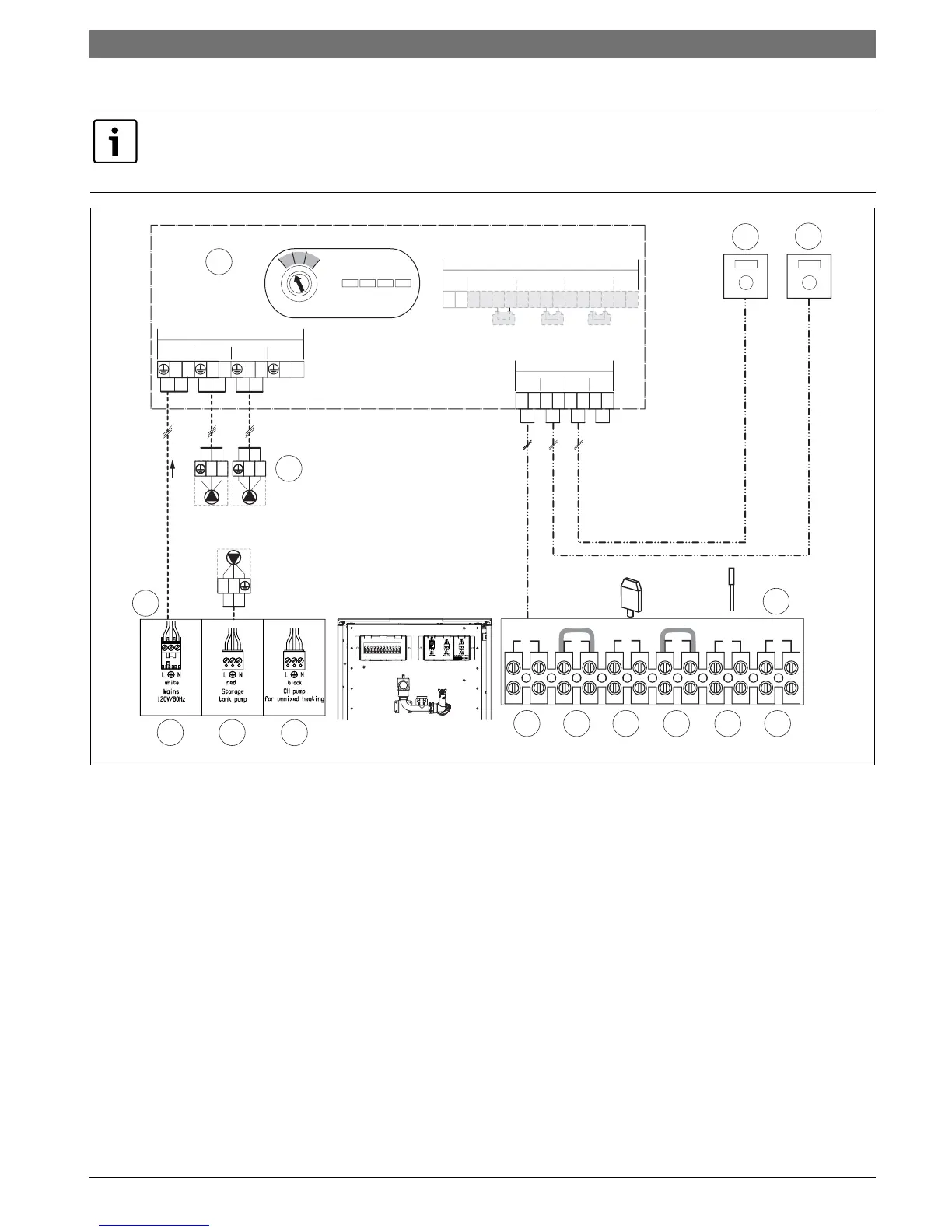
5.2.2 Wiring
Fig. 15 Wiring
[1] High Voltage connection box
[1a] 120 V AC mains power (white plug)
[1b] DHW Storage tank circulator pump (red plug)
[1c] System circulator pump (black plug)
[2] Low Voltage connection box
[2d] BUS EMS connection
[2e] TT - Thermostat/On demand signal (pre-wired link) (dry signal)
[2f] Out Sen - (Outdoor sensor, sold separately)
[2g] LWCO - (pre-wired link) (Low Water Cut Off switch, sold
separately)
[2h] DHW Sen - (Tank sensor)
[2k] Empty (future connectivity)
[3] CZM100 (Comfort Zone Manager 100)
[4] PZ1, PZ2 - Zone circulator pumps
[5] CRC100 or CRC200 Zone 1 (Comfort room controller)
[6] CRC100 or CRC200 Zone 2 (Comfort room controller)
When using CZM100 and CRC100 or CRC200 controls the factory installed jumper at terminal [2e] remains.
The LWCO jumper on terminal [2g] is removed when using a LWCO.
For LWCO function an external transformer is required
12
BUSBUS
1212
BUS BUS
1 2
≤ 24 V
NL
120VAC
120V AC
NNLNLL
PZ2 PZ3PZ1
121
1 2
T0
24VAC
24VAC
3 41 2
VZ1
VZ1
3 41 2
VZ2
VZ2
3 4 1 2
VZ3
VZ3
≤ 24 V
PZ1
DHW Tank Pump
Rear of Greenstar boiler
NL
120 V AC
0
1
2
3
4
5
6
CZM100
1234
1
2
3
4
56
BUS
TT
out sen
DHW sen
LWCO
1
2
3
4
56
BUS
TT
Out Sen
DHW Sen
LWCO
N
L
3
4
1
a
b
c
d
e
f k
2
6
5
h
g
PZ2
NL
6720810590-71 .1Wo
TT
LWCO

Table of Contents

Related product manuals