EasyManua.ls Logo

Bosch PLR 30 - Page 50

Bosch PLR 30
128 pages
Go to English
To Next Page IconTo Next Page
To Next Page IconTo Next Page
To Previous Page IconTo Previous Page
To Previous Page IconTo Previous Page
Loading...
50 | Português 1 609 929 J82 6.6.07
Nota: Para medições a partir de objectos ou lados estreitos, deverá obser-
var que o instrumento de medição seja realmente encostado com os lados
posteriores (como apresentado na figura A c), e não com os entalhes entre
os lados posteriores (como na figura A d). Só medindo a partir dos lados
posteriores (figura A c) podem ser obtidos valores de medição correctos.
Premir a tecla de medição 8 para ligar o raio laser.
f Não apontar o raio laser na direcção de pessoas nem de ani-
mais, e não olhar no raio laser, nem mesmo de maiores distân-
cias.
Apontar o raio laser para a superfície alvo. Premir novamente a tecla de
medição 8 para iniciar a medição.
Na função de medição contínua a medição já começa após premir pela pri-
meira vez a tecla de medição 8.
O valor de medição aparece após 0,5 a 4 segundos. A duração da medi-
ção depende da distância, das condições de iluminação e das caracterís-
ticas de reflexão da superfície alvo. O fim da medição é indicado por um
sinal acústico. O raio laser é desligado automaticamente após o final do
processo de medição.
Se aprox. 20 s após visualizar, não ocorrer nenhuma medição, o raio laser
desligar-se-á automaticamente para poupar as pilhas.
Funções de medição
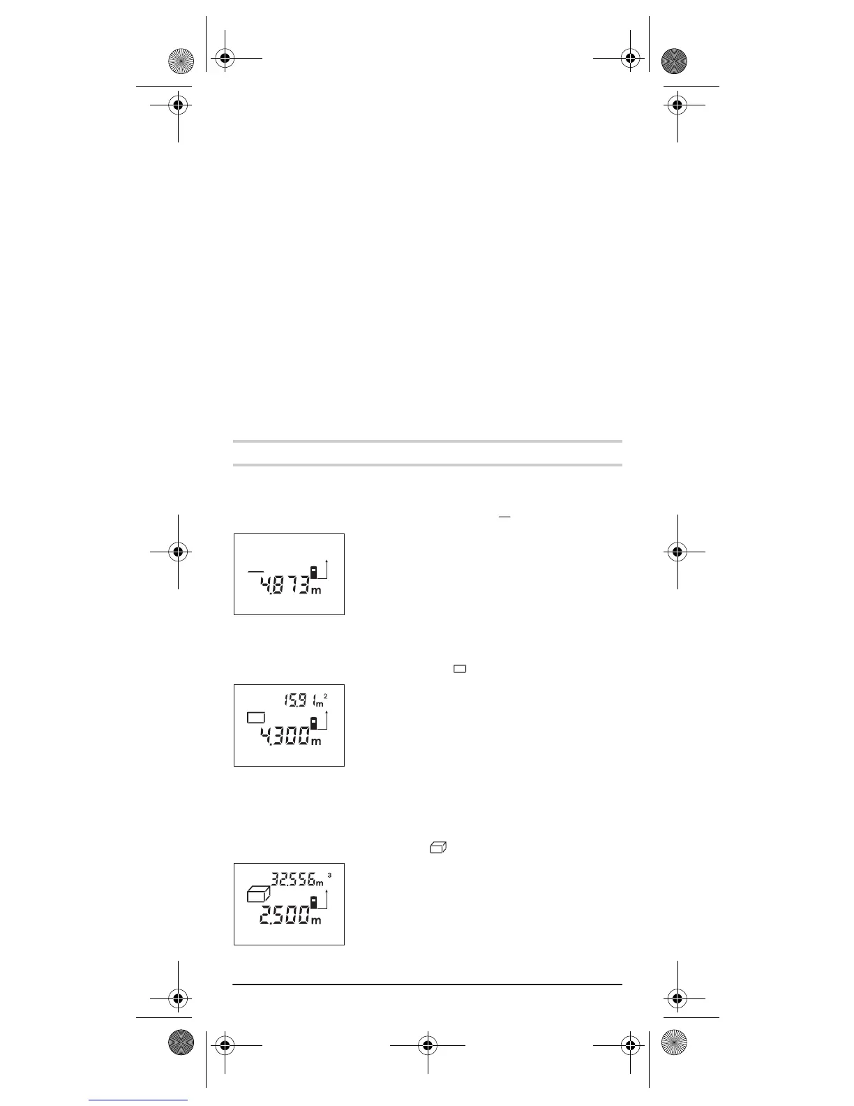
Medição de comprimento
Para a medição de comprimento, deverá premir a tecla 4. No display apa-
rece a indicação para a medição de comprimento .
Premir uma vez a tecla de medição 8 para visualiza-
ção e mais uma vez para a efectuar a medição.
O valor de medição é indicado em baixo no display.
Medição de áreas
Para a medição de superfície, deverá premir a tecla 5. No display aparece
a indicação para a medição de superfície .
Medir em seguida o comprimento e a largura, da
mesma forma como para uma medição de compri-
mento. O raio laser permanece ligado entre as duas
medições.
Após a segunda medição, a área/superfície é auto-
maticamente calculada e indicada. O último valor
individual de medição encontra-se no lado inferior
do display, o resultado encontra-se acima.
Medição do volume
Para a medição de volume, deverá premir a tecla 9. No display aparece a
indicação para a medição de volume .
Medir em seguida o comprimento, a largura, e a
altura da mesma forma como para uma medição de
comprimento. O raio laser permanece ligado entre
as três medições.
Após a terceira medição, o volume é automatica-
mente calculado e indicado. O último valor indivi-
dual de medição encontra-se no lado inferior do
display, o resultado encontra-se acima.
OBJ_BUCH-145-003.book Page 50 Wednesday, June 6, 2007 9:02 AM

Related product manuals