EasyManua.ls Logo

Boss BV7300 - Page 6

Boss BV7300
32 pages
Print Icon
To Next Page IconTo Next Page
To Next Page IconTo Next Page
To Previous Page IconTo Previous Page
To Previous Page IconTo Previous Page
Loading...
BV7300 Users Manual - page 4
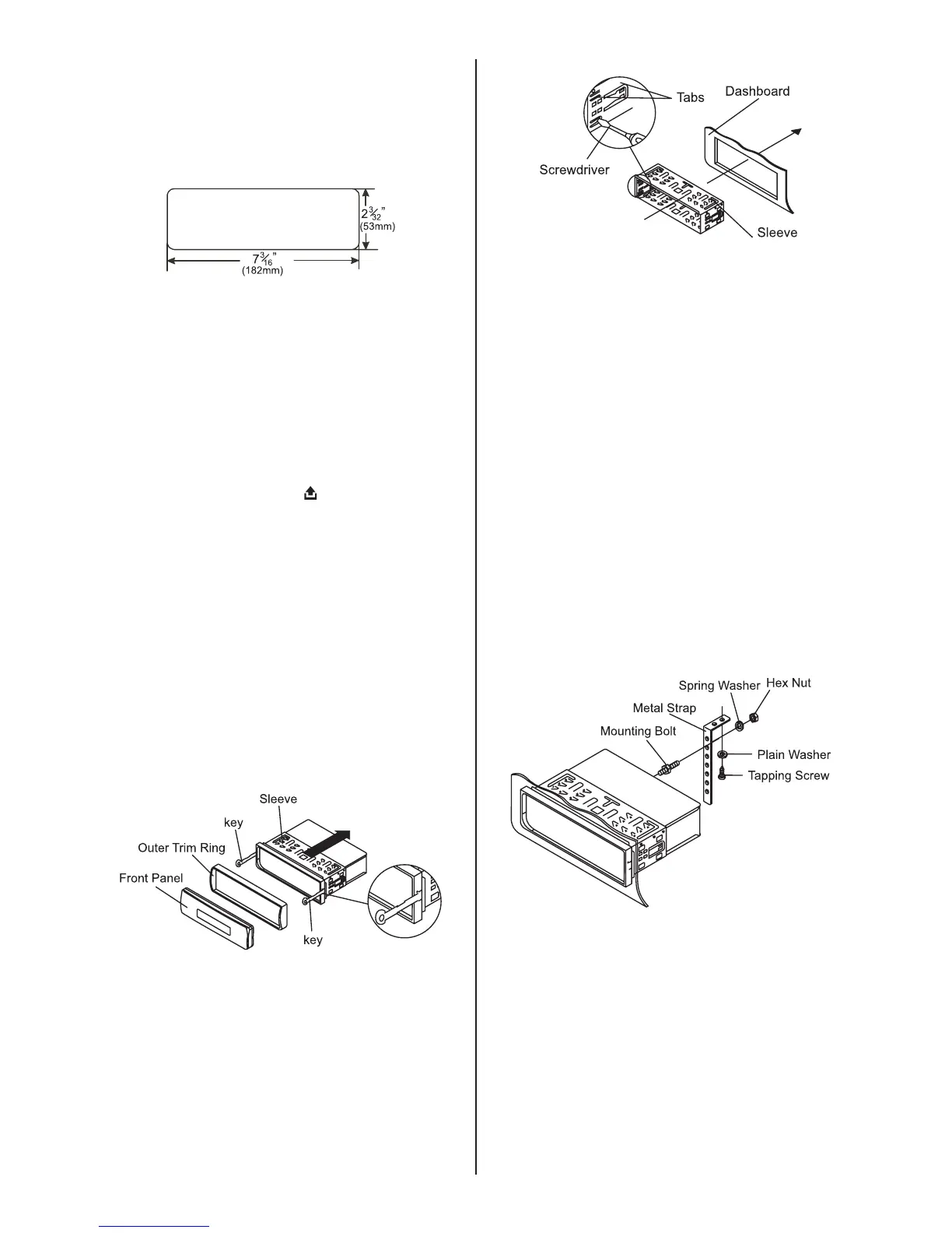
1. DIN front-mount (method A)
Installation opening
This unit can be installed in any dashboard
opening with dimensions as shown below:
Installing the unit
Be sure to test all connections fi rst, then
follow these steps to install the unit.
1. Make sure the ignition is turned off. Dis-
connect the cable from the vehicle battery
negative (-) terminal.
2. Disconnect the wire harness and the
antenna.
3. Press the RELEASE ( ) on the front
panel and remove the control panel (for
details, refer to ‘Using the Detachable Front
Panel’).
4. Lift the top of the outer trim ring. Then
pull it out to remove it.
5. The two supplied keys release tabs
inside the unit’s sleeve so you can remove
it. Insert the keys as far as they will go (with
the notches facing up) into the appropriate
slots at the center of the left and right sides
of the unit. Then slide the sleeve off the
back of the unit.
6. Mount the sleeve by inserting it into the
opening of the dashboard and bend open
the tabs located around the sleeve with
a screwdriver. Not all tabs will be able to
make contact, so examine the opening to
determine which tabs will be most effective.
Bend open the appropriate tabs behind the
dashboard to secure the sleeve in place.
7. Reconnect the wire harness and the an-
tenna, being careful not to pinch any wires
or cables.
8. Slide the unit into the sleeve until it locks
into place.
9. To further secure the unit, use the sup-
plied metal strap to secure the back of the
unit in place. Use the supplied hardware
(Hex Nut (M5mm) and Spring Washer) to
attach one end of the strap to the mounting
bolt on the back of the unit. If necessary,
bend the metal strap to fi t your vehicle’s
mounting surface. Then use the supplied
hardware (Tapping Screw (5x25mm) and
Plain Washer) to attach the other end of
the metal strap to a solid metal part of the
vehicle under the dashboard. This strap
also helps ensure proper electrical ground-
ing of the unit.
10. Reconnect the cable to the vehicle
battery’s negative (-) terminal. Then replace
the outer trim ring and install the unit’s front
panel (see the steps of ‘to install the front
panel’).
Removing the unit
1. Make sure the ignition is turned off, and

Related product manuals