EasyManua.ls Logo

Bradco SG26 - Cylinder Assembly #100324

Bradco SG26
65 pages
Print Icon
To Next Page IconTo Next Page
To Next Page IconTo Next Page
To Previous Page IconTo Previous Page
To Previous Page IconTo Previous Page
Loading...
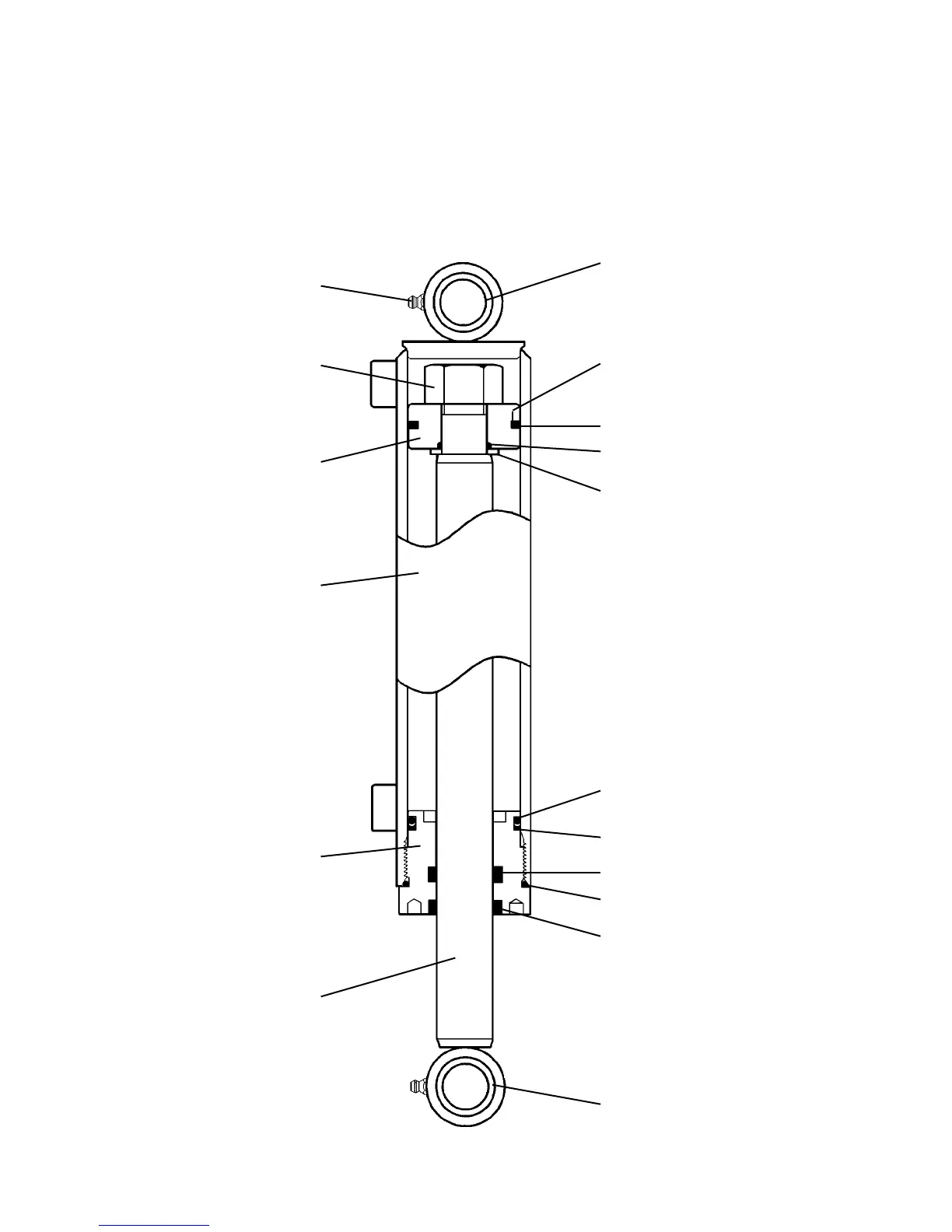
CYLINDER ASSEMBLY
9721 8-4-14-2
ASSEMBLY #100324
1
2
3
4
5
6
7
8
9
10
11
12
13
14
15
16
17
54
75578

Related product manuals