EasyManua.ls Logo

Brady Bradyprinter 200MVP - Page 43

Brady Bradyprinter 200MVP
110 pages
Print Icon
To Next Page IconTo Next Page
To Next Page IconTo Next Page
To Previous Page IconTo Previous Page
To Previous Page IconTo Previous Page
Loading...
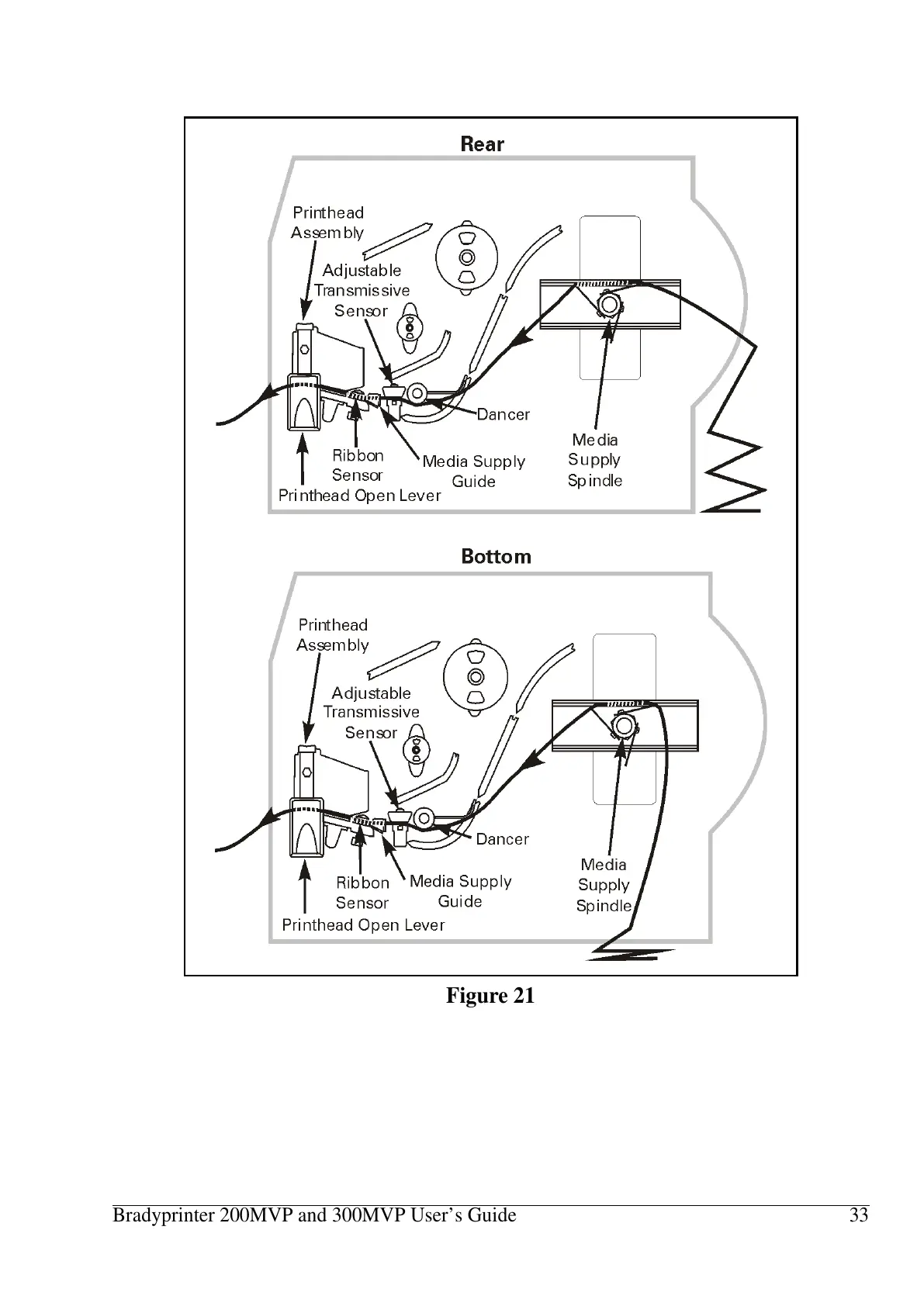
Bradyprinter 200MVP and 300MVP User’s Guide 33
Figure 21
All manuals and user guides at all-guides.com

Related product manuals