EasyManua.ls Logo

Brooks Polycold MaxCool 4000H - Page 221

Default Icon
250 pages
Print Icon
To Next Page IconTo Next Page
To Next Page IconTo Next Page
To Previous Page IconTo Previous Page
To Previous Page IconTo Previous Page
Loading...
Polycold Cryochiller Appendices
Installation and Operation Manual Appendix F: Feedthroughs
Brooks Automation
214072 Revision B
12-11
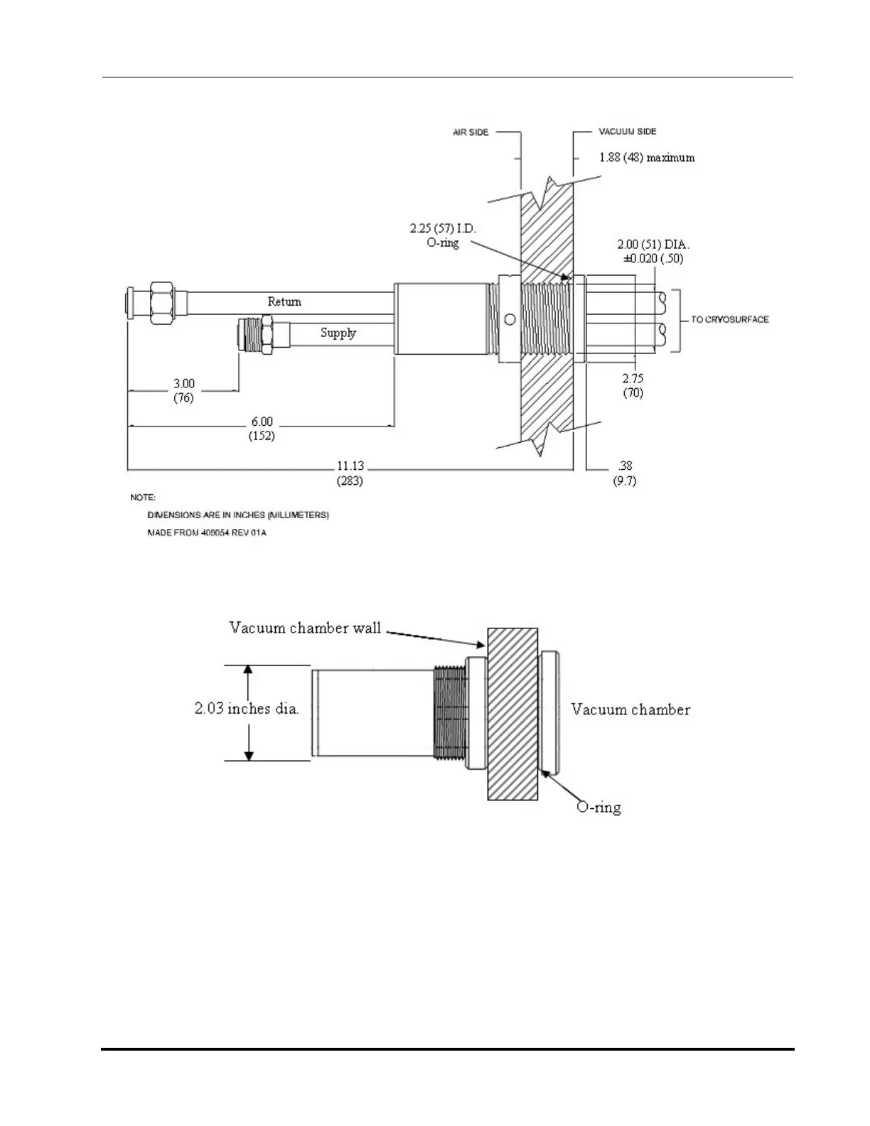
Figure 12-6: Polycold's Two-Inch (50 mm) Feedthrough with Port Requirements
Figure 12-7: Close-up Detail of Feedthrough Connection (Feed and Return Tubes not Shown)

Table of Contents

Related product manuals