EasyManua.ls Logo

Bryant 340MAV - Page 26

Bryant 340MAV
48 pages
Print Icon
To Next Page IconTo Next Page
To Next Page IconTo Next Page
To Previous Page IconTo Previous Page
To Previous Page IconTo Previous Page
Loading...
d. Install pipe support (factory-supplied in loose parts bag)
into selected furnace casing combustion-air pipe hole.
Pipe support should be positioned at bottom of casing
hole.
e. Insert 2-in. diameter pipe into intake housing.
NOTE: A 2-in. diameter pipe must be used within the furnace
casing. Make all pipe diameter transitions outside furnace casing.
f. Install casing hole filler cap (factory-supplied in loose
parts bag) in unused combustion-air pipe casing hole.
g. Drill a 1/8-in. hole in 2-in. combustion-air pipe using
hole in intake housing as a guide.
h. Install a field-supplied No. 6 or No. 8 sheet metal screw
into combustion-air pipe.
NOTE: DO NOT OVERTIGHTEN SCREW. Breakage of intake
housing or fitting may cause air leakage to occur.
NOTE: Do not attach combustion-air intake pipe permanently to
combustion-air intake housing since it may be necessary to remove
pipe for service of ignitor or flame sensor.
COMBUSTION-AIR INTAKE HOUSING PLUG
FITTING
The combustion-air intake plug fitting must be installed in
unused combustion-air intake housing. This fitting must be
attached by using RTV sealant, or by drilling a 1/8-in. hole
in fitting, using hole in intake housing as a guide. Install a
field-supplied No. 6 or No. 8 sheet metal screw.
NOTE: DO NOT OVERTIGHTEN SCREW. Breakage of intake
housing or fitting may cause air leakage to occur.
A plugged drain connection has been provided on this
fitting for use when moisture is found in combustion-air
intake pipe and combustion box.
NOTE: Moisture in combustion-air intake may be result of
improper termination. Ensure combustion-air intake pipe termina-
tion is similar to that shown in Fig. 36, 37, 38, 39, and 40 so it will
not be susceptible to areas where light snow or other sources of
moisture could be pulled in.
If use of this drain connection is desired, drill out fitting’s
tap plug with a 3/16-in. drill and connect a field-supplied
3/8-in. tube. This tube should be routed to open condensate
drain for furnace and A/C (if used), and should be trapped.
(See Fig. 35.)
2. Attach vent pipe as follows:
a. Determine location of vent pipe connection to inducer
housing as shown in Fig. 33 for application.
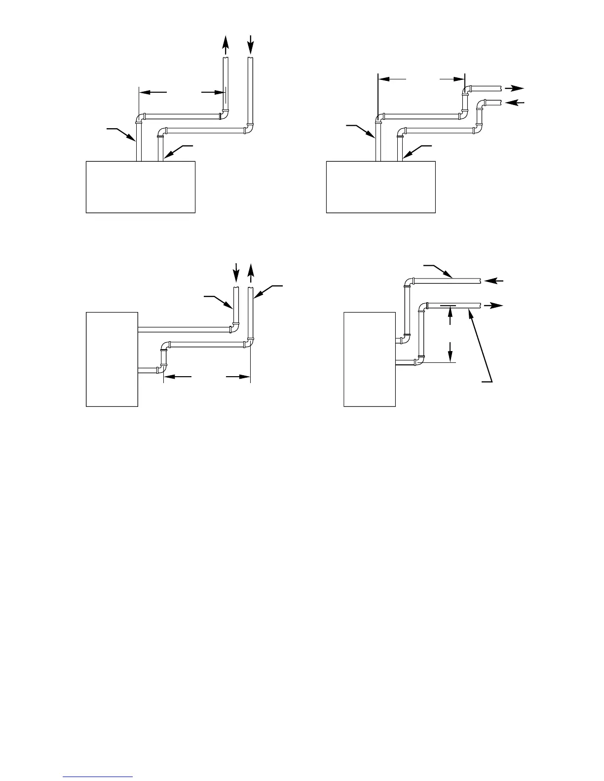
Fig. 34—Short Vent (5 to 8 Ft) System
A96230
HORIZONTAL TO ROOF HORIZONTAL TO SIDEWALL
VERTICAL TO SIDEWALLVERTICAL TO ROOF
VENT PIPE
COMBUSTION-AIR PIPE COMBUSTION-AIR PIPE
VENT PIPE
COMBUSTION-AIR PIPE
VENT PIPE
COMBUSTION-AIR PIPE
VENT PIPE
12 MIN
12 MIN
12 MIN
12 MIN
NOTE: A 12 In. minimum offset pipe section is recommended with
short (5 to 8 ft) vent systems. This recommendation is to reduce
excessive condensate droplets from exiting the vent pipe.
—26—

Table of Contents

Other manuals for Bryant 340MAV

Related product manuals