EasyManua.ls Logo

Bryant 986TC - TROUBLESHOOTING GUIDE; Troubleshooting Flowchart and Status Codes

Bryant 986TC
76 pages
Print Icon
To Next Page IconTo Next Page
To Next Page IconTo Next Page
To Previous Page IconTo Previous Page
To Previous Page IconTo Previous Page
Loading...
986TC: Installation, Start-up, Operating, Service and Maintenance Instructions
Manufacturer reserves the right to change, at any time, specifications and designs without notice and without obligations.
69
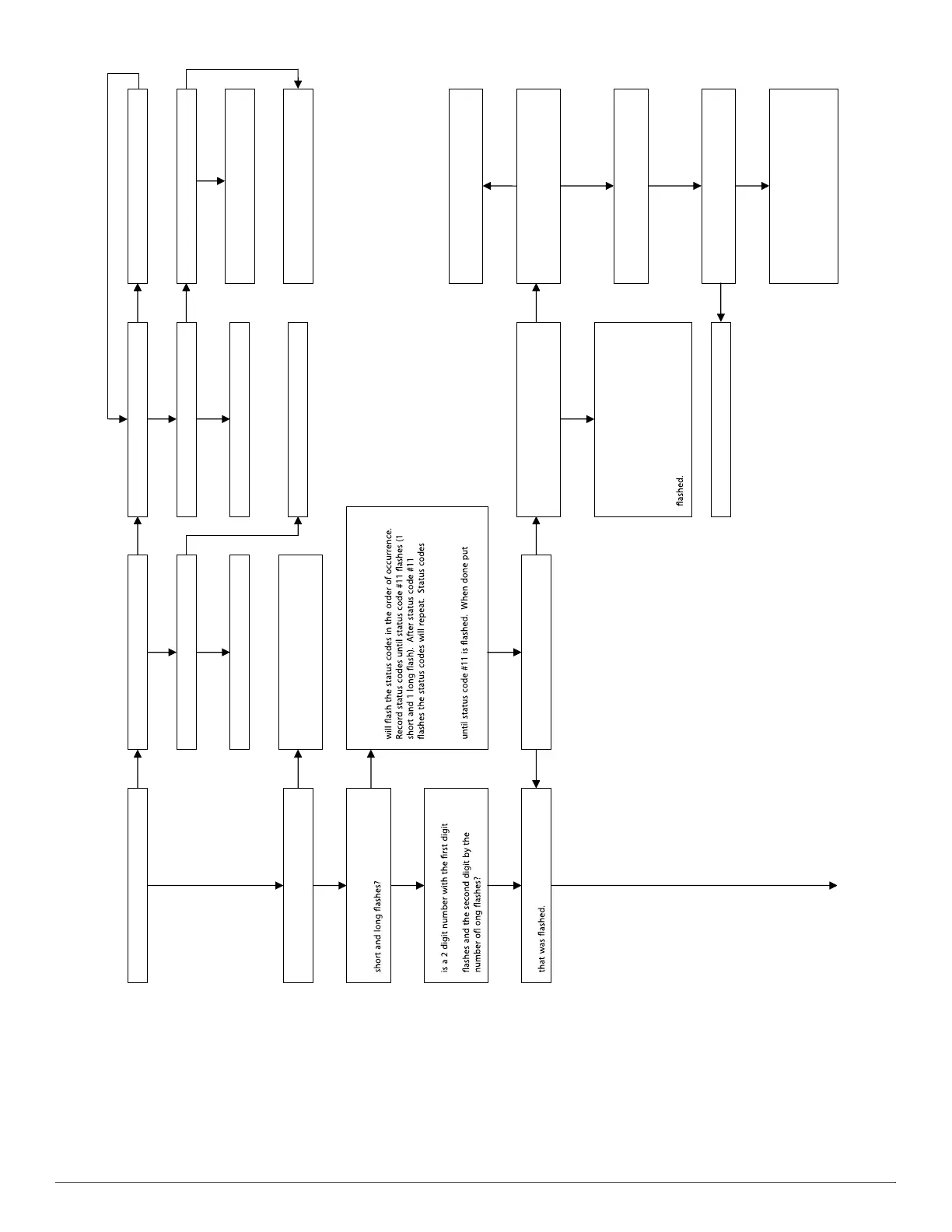
A190174
Fig. 73 – Troubleshooting Guide
Is AMBERLED statuslight on?
Is there 24V at SEC-1 and SEC- 2?
Is there 115V at L1 and L2?
Replace furnace control.
Replace transformer.
Re p l a c e d o o r s w i t c h .
Is there 115V going to switch?
Is door switch closed?
Is circuit breaker cl osed?
Check for continuity in wire from circuit
breaker to furnace.
Close circuit breaker and go back to
START.
Is AMBERLED statuslight blinking
rapidly without a pause?
Check for correct line voltage polarity. If
units are twinned, check for proper low-
voltage (24V) transformer phasing. Verify
unit is properly grounded.
Is AMBERLED status light blinking
ON/OFF slowly with a combination of
Determine status code. The status code
determined by the number of short
To recall previous status codes disconnect the R
thermostat connection, reset power, and put setup
switch SW1-1 in the ON position. The AMBERLED
are erased after 72 hours or can be manually erased
by putting setup switch SW1-1 in the ON position
and jumpering R, W/W1, and Y/Y2 simultaneously
setup switch SW1-1 in the OFF position.
Was there a previous status code other
than #11?
Go t o sec ti on b el ow fo r t he st at us code
Does the control respond to W/W1, W2,
Y1, Y/Y2, and G (24V) thermostat
signals?
Run system through a low-heat, high-
heat, or cooling cycle to check operation.
Status codes are erased after 72 hours
or can be manually erased by putt ing
setup switch SW1-1 in the ON position
and jumpering R, W/W1, and Y/Y2
simultaneously until status code #11 is
Is 24V present at W/W1, W2, Y1, Y/Y2 or
G thermostat terminals on the furnace
control?
Check room thermostat or
interconnecting cable.
Disconnect all the thermostat wires from
the furnace control.
Does the problem repeat when using a
jumper wire?
Replace furnace control.
The t h erm ost at i s n ot com pat i bl e w it h t he
furnace control. Either install a ballast
resistor, connect the Com24V thermostat
terminal to the thermostat, or replace the
thermostat.
YES
NO
YES
YES
YES
YES
YES
YES
START
YES
YES
NO
NO
NO
OONN
NO
O ON N
NO
NO
NO
Close the door switch.
YESYES
YES

Related product manuals