EasyManua.ls Logo

Bryant DURAPAC 579F - Unit Preparation; Compressor Mounting; Refrigerant Service Ports; Compressor Rotation

Bryant DURAPAC 579F
48 pages
Print Icon
To Next Page IconTo Next Page
To Next Page IconTo Next Page
To Previous Page IconTo Previous Page
To Previous Page IconTo Previous Page
Loading...
22
START-UP
Use the following information and Start-Up Checklist on
page CL-1 to check out unit PRIOR to start-up.
I. UNIT PREPARATION
Check that unit has been installed in accordance with these
installation instructions and all applicable codes.
II. COMPRESSOR MOUNTING
Do not loosen or remove compressor holddown bolts.
III. REFRIGERANT SERVICE PORTS
Each refrigerant system has a total of 3 Schrader-type
service gage ports. One port is located on the suction line,
one on the compressor discharge line, and one on the liquid
line. In addition Schrader-type valves are located under-
neath the low-pressure switches. Be sure that caps on the
ports are tight.
IV. COMPRESSOR ROTATION
A. 579F180 and 216 Only
The unit is equipped with a Phase Monitor Relay (PMR)
board located in the control box. The PMR device will not
allow the unit to run if field power is connected incorrectly.
To determine if the Phase Monitor Relay is preventing the
unit from starting, check to see if the red LED is blinking. If
the LED is blinking, the 3-phase field power has been wired
incorrectly. A solid light means that field power connections
are correct.
B. 579F240 and 300 Only
It is important to be certain the compressors are rotating in
the proper direction. To determine whether or not compres-
sors are rotating in the proper direction:
1. Connect service gages to suction and discharge pres-
sure fittings.
2. Energize the compressor.
3. The suction pressure should drop and the discharge
pressure should rise, as is normal on any start-up.
If the suction pressure does not drop and the discharge pres-
sure does not rise to normal levels:
1. Note that the evaporator fan is probably also rotating
in the wrong direction.
2. Turn off power to the unit.
3. Reverse any two of the incoming power leads.
4. Turn on power to the unit.
5. Energize each compressor.
The suction and discharge pressure levels should now move
to their normal start-up levels.
NOTE: When compressors are rotating in the wrong direc-
tion, the unit will have increased noise levels and will not
provide heating and cooling.
After a few minutes of reverse operation, the scroll compres-
sor internal overload protection will open, which will acti-
vate the unit’s lockout and requires a manual reset. Reset is
accomplished by turning the thermostat on and off.
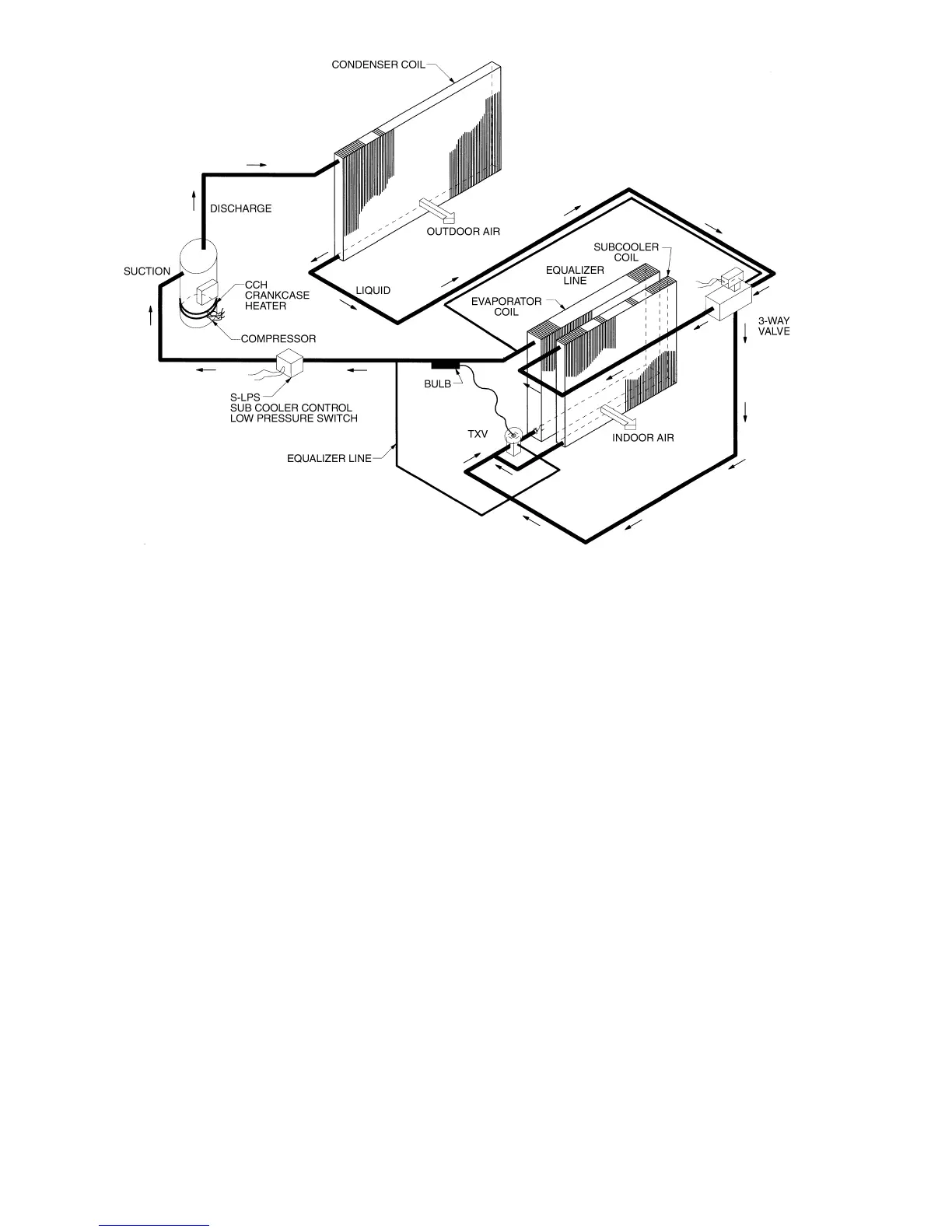
Fig. 35 — Perfect Humidity™ Dehumidification Package Operation Diagram (Single Circuit Shown)

Related product manuals