EasyManua.ls Logo

Bush BSINDHB - Electrical Connection and Safety

Bush BSINDHB
38 pages
Print Icon
To Next Page IconTo Next Page
To Next Page IconTo Next Page
To Previous Page IconTo Previous Page
To Previous Page IconTo Previous Page
Loading...
Installing your induction hob
Bringing it all together
Installing your gas cooker
18
If you require any technical guidance or find that your product is not operating as intended, a simple solution can often be found in the Troubleshooting section of these instructions,
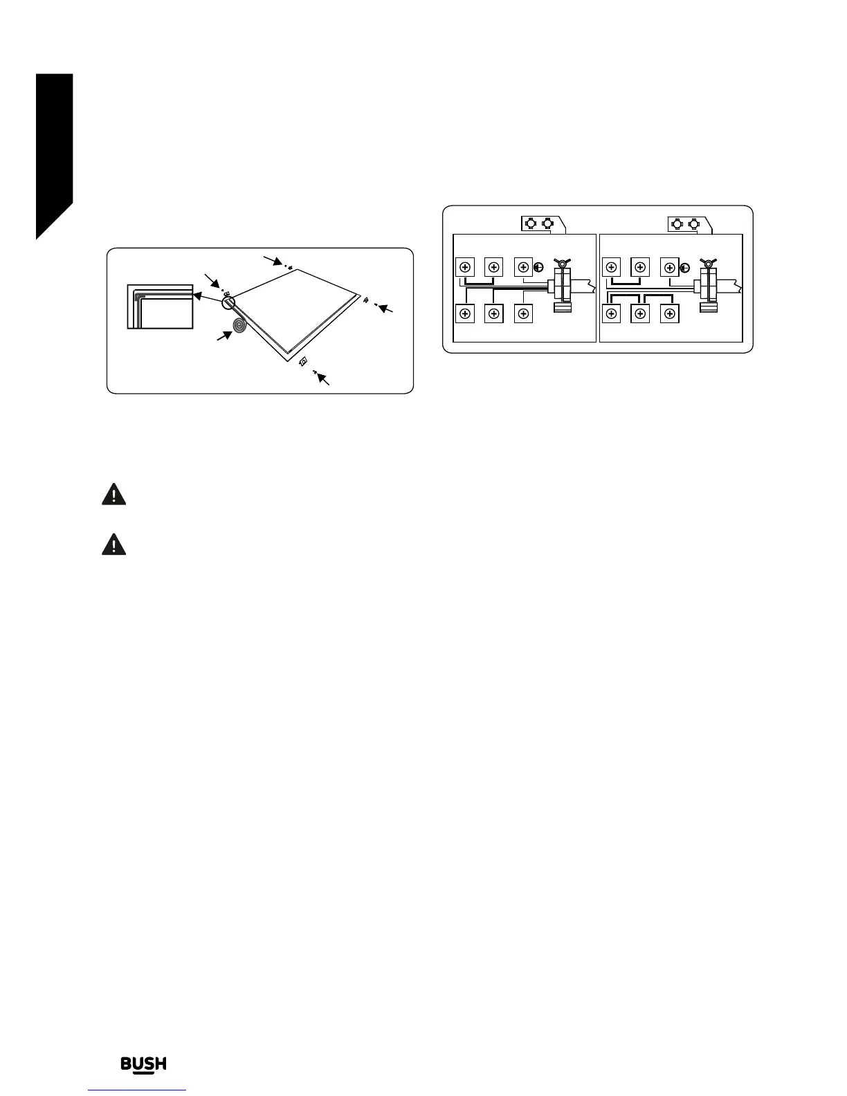
• Apply the supplied one-sided self-adhesive sealing tape
all the way around the lower edge of the cooktop. Do not
stretch it.
Self-adhesive
sealing tape
Worktop mounting
bracket
• Screw the 4 worktop mounting brackets in to the side
walls of product.
• Insert the appliance into the aperture.
Electrical connection and safety
WARNING: The electrical connection of this appliance
should be carried out by an authorised service person or
qualified electrician, according to the instructions in this
guide and in compliance with the current local regulations.
WARNING: THE APPLIANCE MUST BE EARTHED.
• Before connecting the appliance to the power
supply, the voltage rating of the appliance (stamped on
the appliance identification plate) must be checked for
correspondence to the available mains supply voltage,
and the mains electric wiring should be capable of
handling the appliance’s power rating (also indicated on
the identification plate).
• During installation, please ensure that isolated cables
are used. An incorrect connection could damage your
appliance. If the mains cable is damaged and needs to be
replaced this should be done by a qualified person.
• Do not use adaptors, multiple sockets and/or extension
leads.
• The supply cord should be kept away from hot parts
of the appliance and must not be bent or compressed.
Otherwise the cord may be damaged, causing a short
circuit.
• If the appliance is not connected to the mains with a
plug, a multi-pole isolator switch (with at least 3 mm
contact spacing) must be used in order to meet the safety
regulations.
• The fused switch must be easily accessible once the
appliance has been installed.
• Ensure all connections are adequately tightened.
• Fix the supply cable in the cable clamp and then close the
cover.
• The terminal box connection is placed on the terminal
box
4
4
N
N
PE
PE
L2
L3
L1
L
5 5
3
3
2
2
1
1

Related product manuals