EasyManua.ls Logo

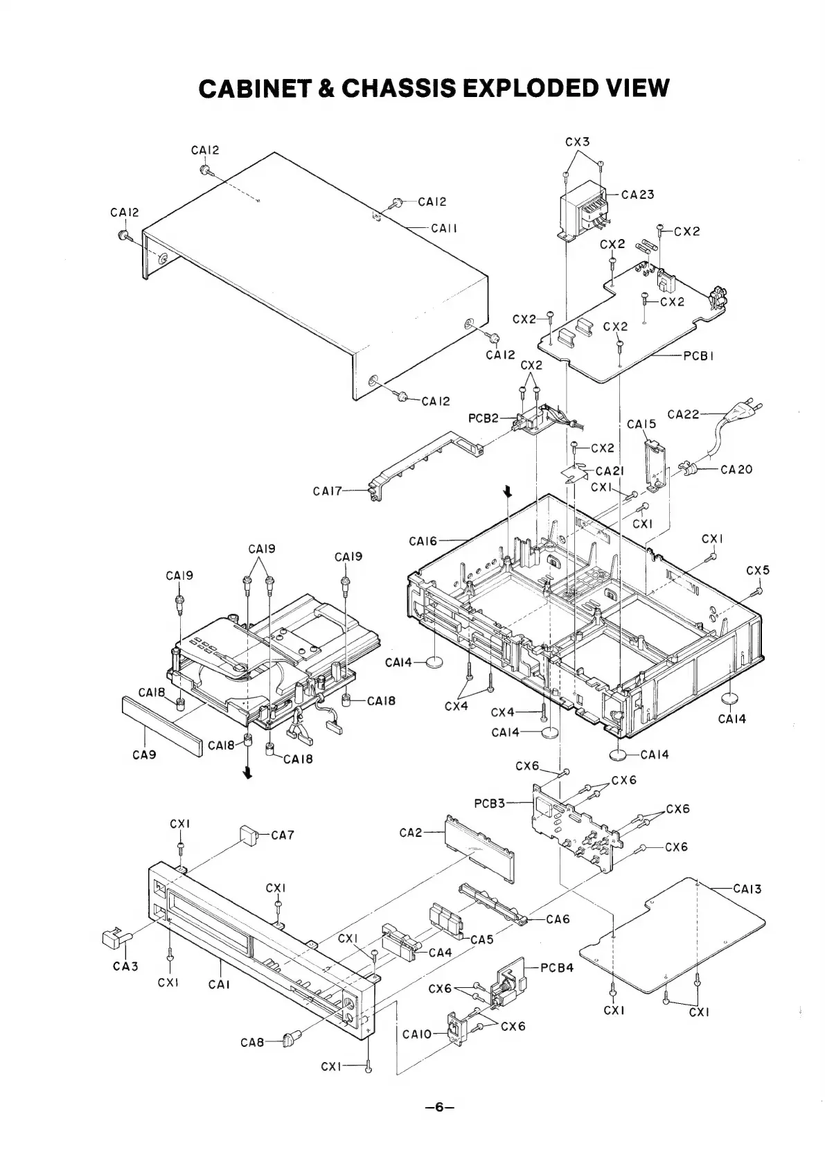
C.E.C. 530CD - Cabinet & Chassis Exploded View

C.E.C. 530CD
62 pages
Print Icon
To Next Page IconTo Next Page
To Next Page IconTo Next Page
To Previous Page IconTo Previous Page
To Previous Page IconTo Previous Page
Loading...
CABINET
&
CHASSIS
EXPLODED
VIEW