EasyManua.ls Logo

CALPAK MARK4 - Page 14

CALPAK MARK4
35 pages
Print Icon
To Next Page IconTo Next Page
To Next Page IconTo Next Page
To Previous Page IconTo Previous Page
To Previous Page IconTo Previous Page
Loading...
THERMOSIPHONIC SOLAR WATER HEATERS / TECHNICAL DOCUMENTATION / PAGE 13
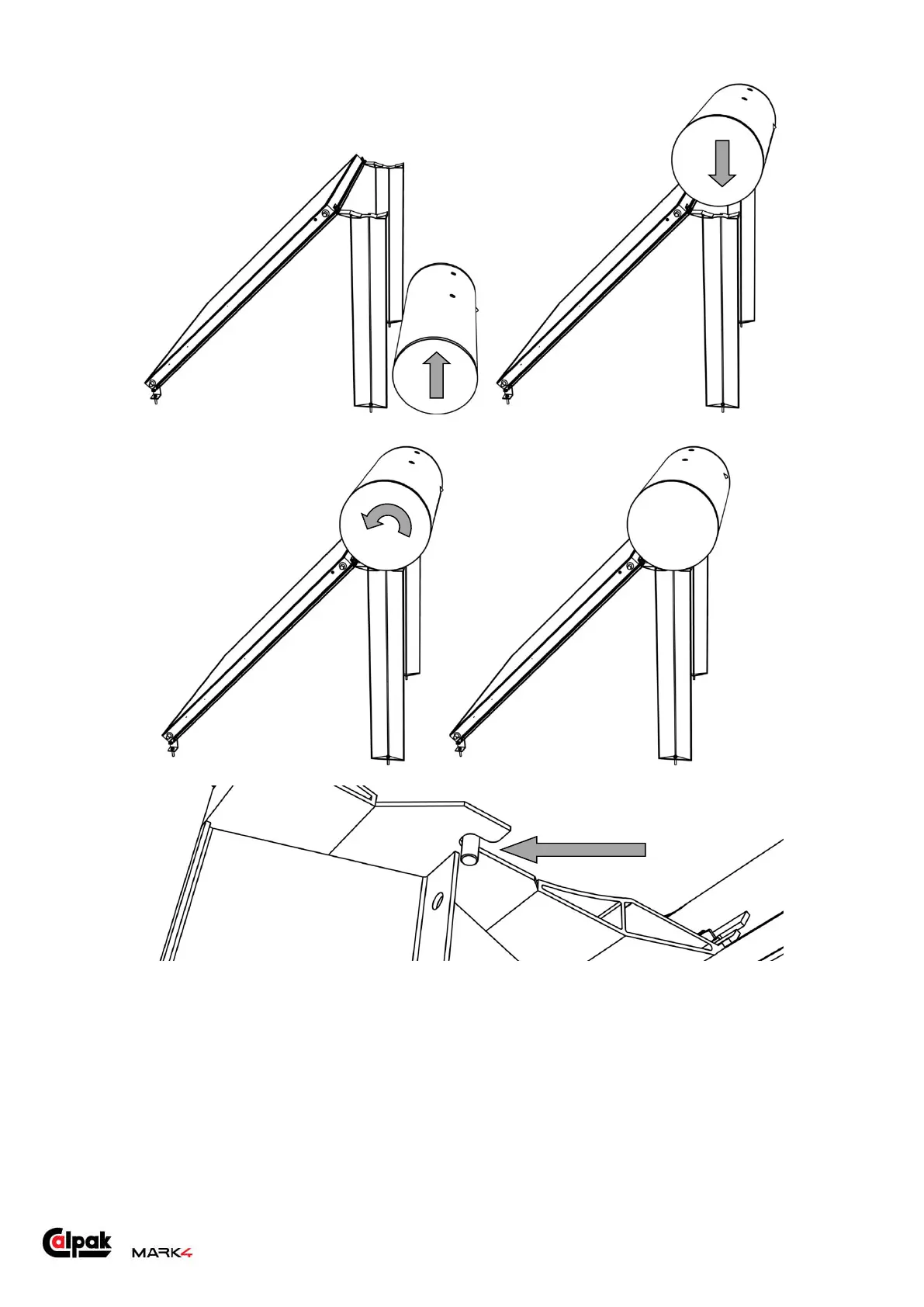
STEP 9
Place the tank on the roof floor with a small rotation backwards. Ensure that the securing bolts of the
tank do not touch the floor. Lift the tank and place it on the circular seats on top of the pillars. Rotate
the tank so that the tank securing bolts are inserted into the pillar slots.