EasyManua.ls Logo

Campomatic WM80LS - Detergent Usage and Selection; Detergent Drawer Compartment Functions

Campomatic WM80LS
35 pages
Print Icon
To Next Page IconTo Next Page
To Next Page IconTo Next Page
To Previous Page IconTo Previous Page
To Previous Page IconTo Previous Page
Loading...
Function of each compartment
Service Instructions
The amount of detergent is based on the water hardness in your area
and the detergent manufacturer’s recommendations on the package
as well as the weight of laundry, theype of fabric, the degree of soiling
etc.
The type of detergent you should use is based on the type of fabric
(cotton, delicate items, chemical fiber and wool), color, wash
temperature, degree and type of soiling. Always use “low foam”
washing powder, which is designed for drum washing machine.
Precautions for using the detergent
Using methods of detergents and additives
Keep detergents and additives in a safe, dry place out of the reach of children.
◆ Please use appropriate amount of detergent according to the type of fabric and the degree
of soiling for the sake of environmental protection.
Appropriate amount of detergent shall be used according to the weight of laundry, the
degree of soiling and product description.
Detergent shall be put in the depth of the detergent drawer which shall not be opened
frequently when the program starts and water is supplying for fear of detergent residual to
influence the washing results.
Softeners shall not be placed on the laundry directly but in the detergent drawer. During
the last rinsing, softeners in the detergent drawer will be poured automatically.
Tips for using “Wool” program:
Use neutral detergent designed for wool washing.
◆ Washing powder particles will remain on the laundry if used to damage
wool.
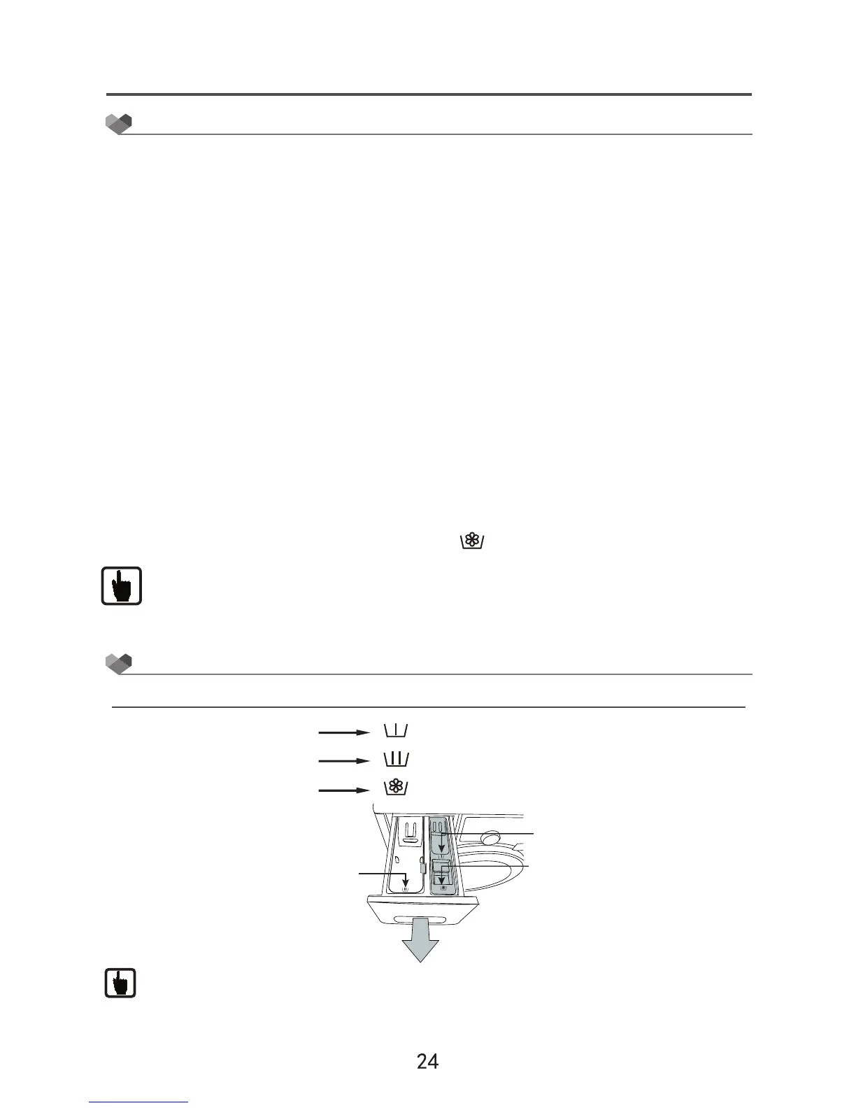
Prewash drawer
Prewash drawer
Main wash drawer
(Washing powder or liquid)
(Washing powder)
(Softener)
Do not open the detergent drawer during machine operation.
Softener drawer
Softener drawer
Main wash drawer

Related product manuals