EasyManua.ls Logo

camry EF932 - Understanding Results and Warnings; Recalling Test Records; Comparing Test Results; Warning Indications

camry EF932
8 pages
Print Icon
To Next Page IconTo Next Page
To Next Page IconTo Next Page
To Previous Page IconTo Previous Page
To Previous Page IconTo Previous Page
Loading...
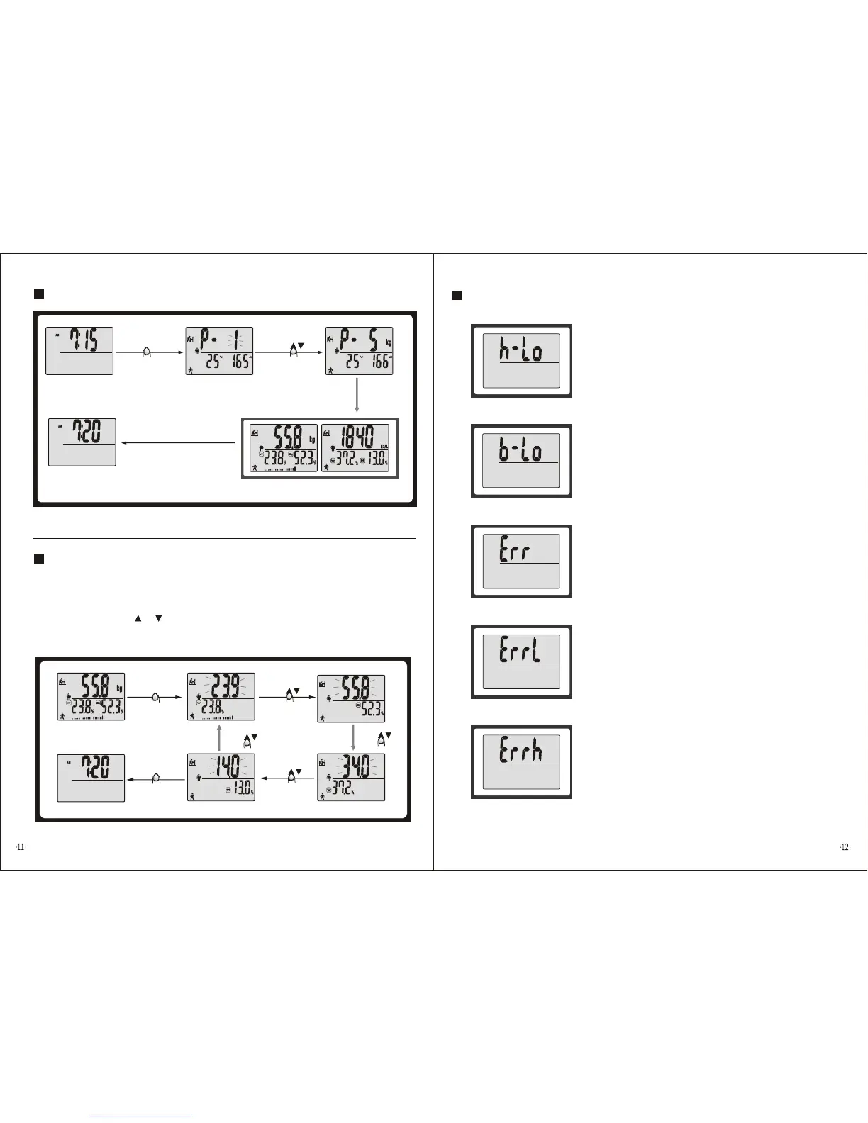
Warning Indications
Over-load Indication
The weighing subject on the platform
exceeds the maximum capability of scale.
Please step off to avoid damage.
High Fat% Indication
The Fat% is too high. Please watch your
diet and do more exercise.
Re-test
Error exists, please re-test to get
the correct result.
Low battery power for read-out display.
Please replace battery.
Low battery power for main unit.
Please replace battery.
Real time display
Real time display
Show parameters of
the last user or
default parameters
Press
to select user code
Press
Press
Press
Press
To recall test record
Display record and repeat 3 times
Back to real time clock automatically after recalling
or press SET to return real time display
Remark: no record for guest user
To compare test result (for family users only)
After body fat measuring, LCD shows current test result. Meanwhile you can press START to
view current test result and last test result. Last result will be displayed in the real time display
zone and flash. Press or to view current and last body fat, body hydration, body bone,
and body muscle result respectively. Press SET to return real time display.
Press START to
compare test result
Press SET to return
real time display
Press START
to enter Recall mode

Related product manuals