EasyManua.ls Logo

Candy CETPS64MCWIFITT - Using the Pause Function

Candy CETPS64MCWIFITT
98 pages
Print Icon
To Next Page IconTo Next Page
To Next Page IconTo Next Page
To Previous Page IconTo Previous Page
To Previous Page IconTo Previous Page
Loading...
EN-17
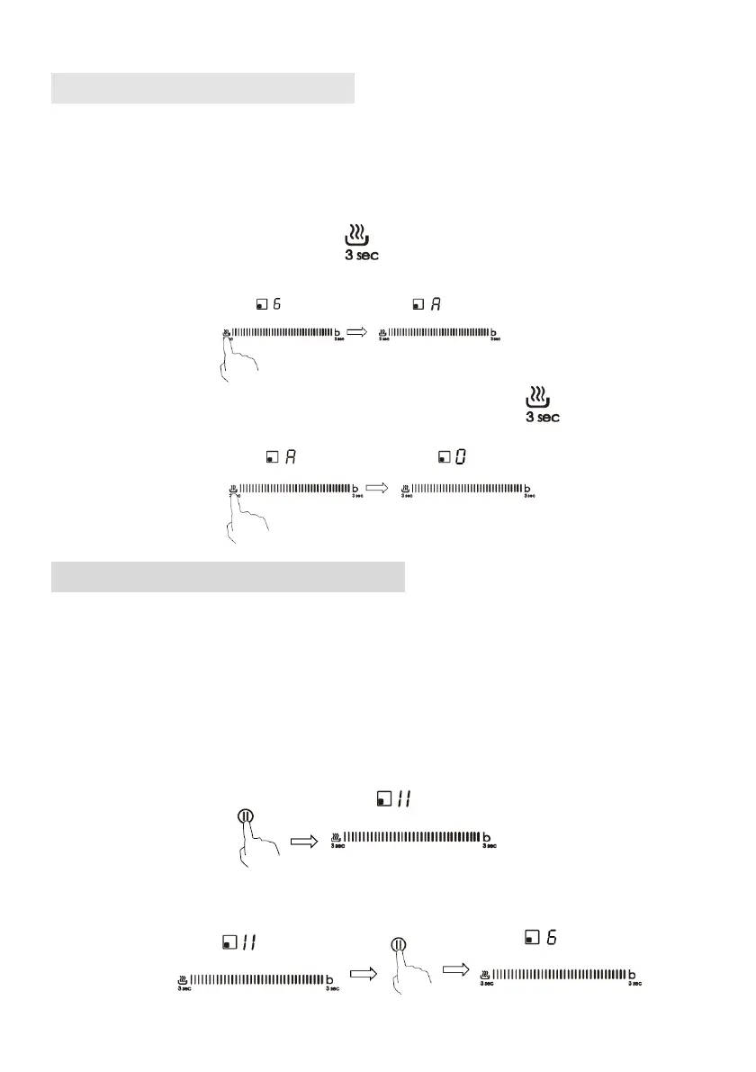
Using the Keep warm
Keep warm is the function that one zone keep work at a lower power to make the
temperature stable.
Using the Keep warm to get stable temperature
1. Touch the left point of the slider that you wish to keep warm, then hold
the button for 3 second, the cooking zone indicator will display “A”.
2. If you want to cancel the keep warm, touch the button for 3 second. The
heating zone will go back to “0” power stage.
Using the Pause function
Pause function can be used at any time during cooking. It allows to stop the
induction cooktop and come back to it.
1. Make sure the cook zone is working.
2. Touch the button pause, the cooking zone indicator will show ll”.
And then the operation of the induction cooktop will be deactivate within the scope
of all cooking zones, except the pause, on/off and lock keys.
3. To cancel the pause status, touch the pause button, then the cooking zone will
go back to the power stage which you set before.

Related product manuals