EasyManua.ls Logo

Candy CETPS64MCWIFITT - Product Overview

Candy CETPS64MCWIFITT
98 pages
Print Icon
To Next Page IconTo Next Page
To Next Page IconTo Next Page
To Previous Page IconTo Previous Page
To Previous Page IconTo Previous Page
Loading...
EN-8
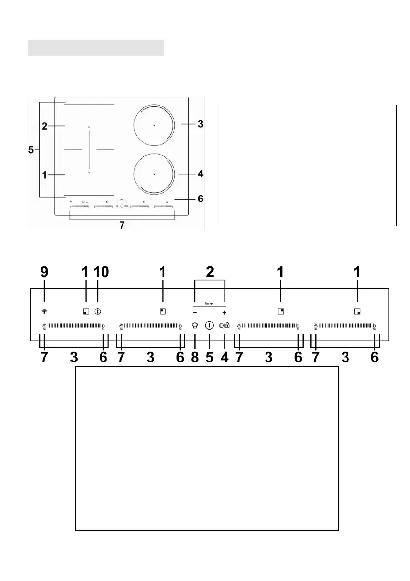
1.2000 W zone, boost to 2600W
2.1500 W zone, boost to 2000W
3.2000 W zone, boost to 2600W
4.1500 W zone, boost to 2000W
5. Flex zone, 2800w boost to 3500w
6. Glass plate
7. Control panel
Product Overview
Top View
Control Panel
1. Heating zone indicator
2. Timer regulating key
3. Power level regulating key
4. keylock/ Pause function
5. ON/OFF control
6. Boost function control
7. Keep warm function control
8. Direct cook button
9. WiFi button
10. Flex zone

Related product manuals