EasyManua.ls Logo

Candy CI642C/E1 - Начин На Употреба

Candy CI642C/E1
356 pages
Print Icon
To Next Page IconTo Next Page
To Next Page IconTo Next Page
To Previous Page IconTo Previous Page
To Previous Page IconTo Previous Page
Loading...
BG-153
БЪЛГАРСК
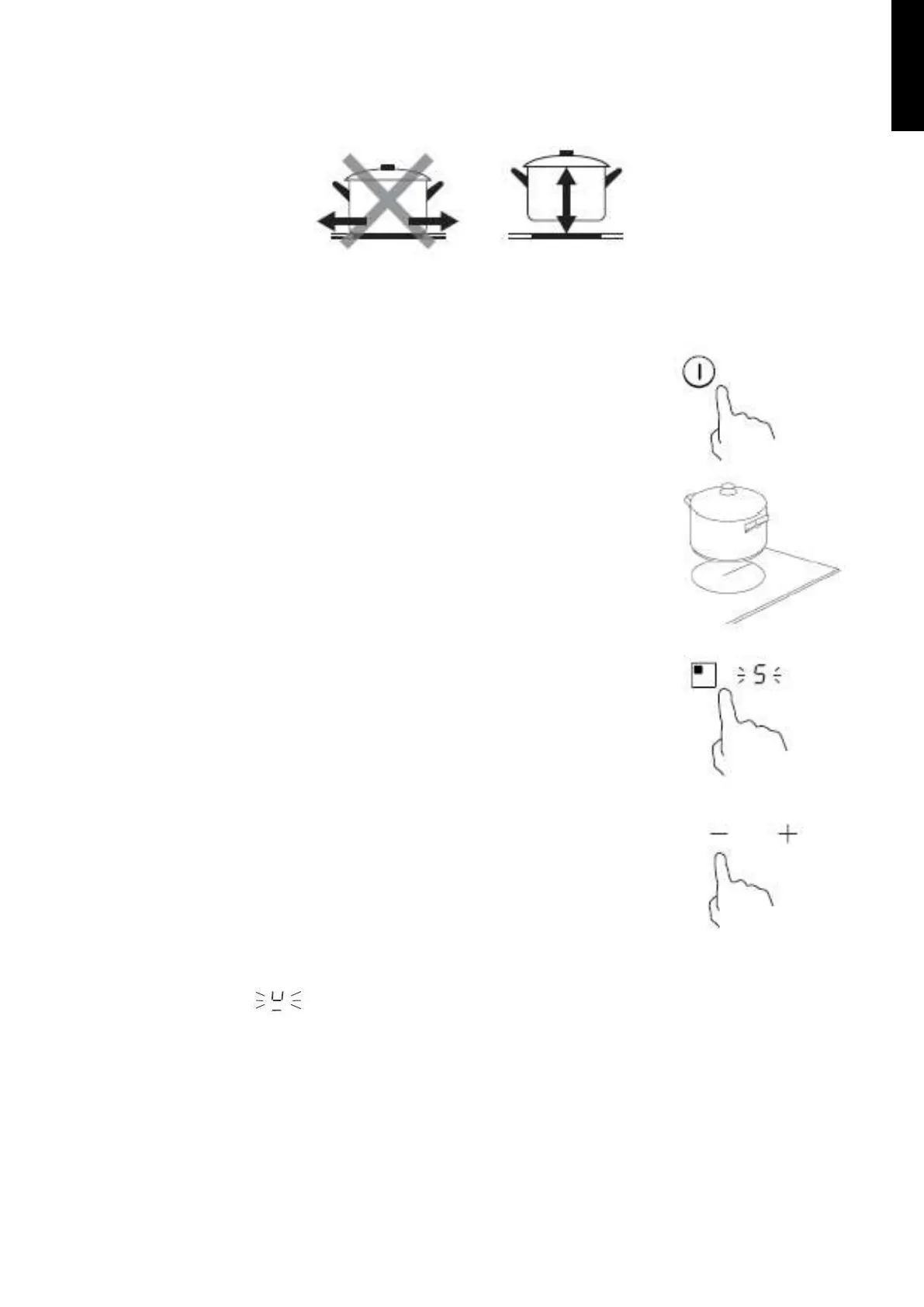
Винаги повдигайте съдовете от индукционния плот не ги плъзгайте, за да не надраскат
стъклото.
Начин на употреба
Начало на готвенето
Докоснете бутона за ON/OFFкл./изкл.) за три секунди.
След включване на захранването прозвучава звуков
сигнал еднократно, на всички дисплеи се изобразява „-
или „- -“, което показва, че индукционният плот е влязъл в
режим на готовност.
Поставете подходящ тиган върху зоната за готвене, която
искате да използвате.
Уверете се, че дъното на тигана и повърхността на
зоната за готвене са чисти и сухи.
Докоснете бутона за избор на нагряваща зона, след което
ще започне да мига индикатор до бутона.
Изберете настройката на топлината, като докоснете
бутоните -“ или „+“.
Ако не изберете настройка за нагряване в рамките на 1
минута, индукционният плот автоматично ще се
изключи. Вие ще трябва да започнете отново от стъпка
1.
Можете да промените настройката на нагряване винаги
по време на готвене.
Ако на дисплея мига , като се редува с настройката за нагряване
Това означава, че:
не сте поставили тиган в правилната зона за готвене, или
тиганът, който използвате, не е подходящ за индукционно готвене или
тиганът е твърде малък или не е правилно центриран върху зоната за готвене.
Не се извършва нагряване, освен ако няма подходящ тиган в зоната за готвене.
Дисплеят ще се изключи автоматично след 1 минута, ако върху него не бъде
поставен подходящ тиган.

Table of Contents

Related product manuals