EasyManua.ls Logo

Candy CI642C/E1 - Como Utilizar

Candy CI642C/E1
356 pages
Print Icon
To Next Page IconTo Next Page
To Next Page IconTo Next Page
To Previous Page IconTo Previous Page
To Previous Page IconTo Previous Page
Loading...
PT-8
PORTUGUÊS
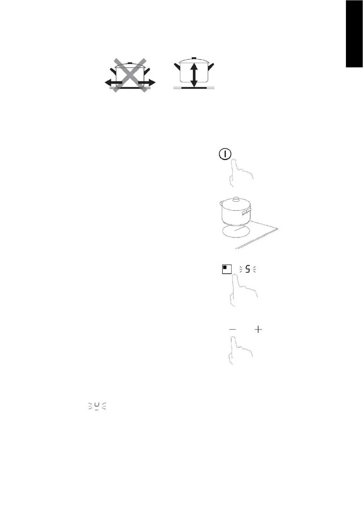
Levante sempre panelas da placa de indução, não as arraste, pois podem riscar o vidro.
Como utilizar
Começar a cozinhar
Toque no comando LIGAR/DESLIGAR durante três
segundos. Após ligar, o sinal sonoro soa uma vez, todos
os ecrãs mostram "-" ou "- -", indicando que a placa de
indução entrou no modo de espera.
Coloque uma panela adequada na zona de cozedura que
pretende utilizar.
Certifique-se de que o fundo da panela e a superfície
da zona de cozedura estão limpos e secos.
Ao tocar no comando de seleção da zona de aquecimento,
irá piscar um indicador ao lado da tecla.
Defina uma regulação de calor tocando no comando
"-" ou "+".
Se não selecionar uma zona de aquecimento no
período de 1 minuto, a placa de indução desliga-se
automaticamente. Terá de recomeçar no passo 1.
É possível modificar a regulação do calor a qualquer
altura durante a cozedura.
Se o visor piscar alternadamente com a regulação do calor
Isto significa que:
não colocou uma panela na zona de cozedura correta ou,
a panela que está a utilizar não é adequada para cozinhar por indução ou,
a panela é muito pequena ou não está devidamente centrada na zona de cozedura.
O aquecimento não é ativado se não existir uma panela adequada na zona de cozedura.
O visor desliga-se automaticamente após 1 minuto se não for colocada uma panela adequada.

Table of Contents

Related product manuals