EasyManua.ls Logo

Candy CI642C/E1 - Page 243

Candy CI642C/E1
356 pages
Print Icon
To Next Page IconTo Next Page
To Next Page IconTo Next Page
To Previous Page IconTo Previous Page
To Previous Page IconTo Previous Page
Loading...
SE-8
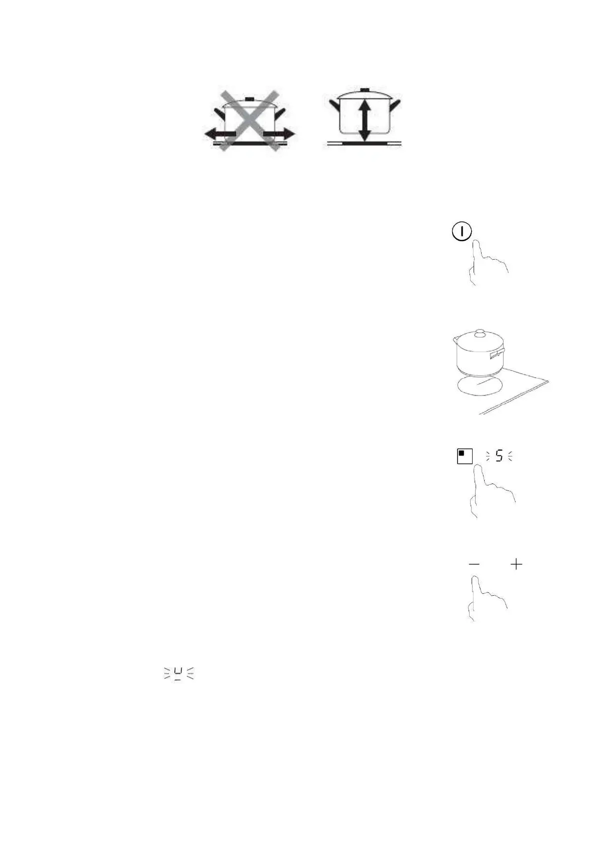
Lyft alltid av kokkärl från induktionshällen. Skjut dem inte eftersom de kan repa glaset.
Användning
Matlagning
Tryck på strömbrytaren ON/OFF i tre sekunder. När den har
slagits på hörs ett pip, alla displayer visar ”-” eller ”--” för att visa
att induktionshällen är i standbyläge.
Placera lämplig kastrull på den kokzon som du tänker använda.
Se till att undersidan på kastrullen och ytan på kokzonen är
ren och torr.
Tryck på reglaget för val av värmezon så tänds indikatorn bredvid
nyckeln
Välj en värmeinställning genom att trycka på reglaget +.
Om du inte väljer värmeinställning inom en minut kommer
induktionshällen automatiskt att stängas av. Och då måste du
börja om från steg 1.
Du kan när som helst ändra värmeinställning under
tillagningen.
Displayen blinkar växelvis med värmeinställningen
Det innebär att:
du inte har placerat någon kastrull på rätt kokzon eller
kastrullen du använder passar inte för induktionshäll eller
kastrullen är för liten eller inte ordentligt centrerad på värmezonen.
Zonen blir inte varm om det inte finns passande kastrull på kokzonen.

Table of Contents

Related product manuals