EasyManua.ls Logo

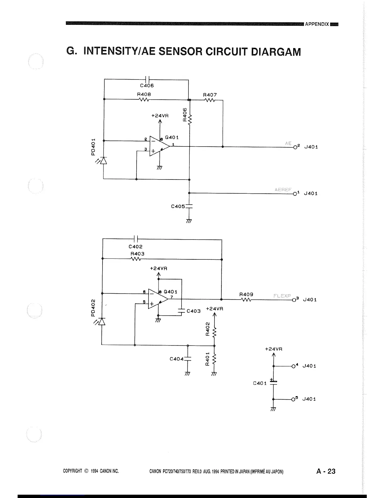
Canon PC720 - G. Intensity;AE Sensor Circuit Diagram

Canon PC720
183 pages
Print Icon
To Next Page IconTo Next Page
To Next Page IconTo Next Page
To Previous Page IconTo Previous Page
To Previous Page IconTo Previous Page
Loading...

Table of Contents

Related product manuals