EasyManua.ls Logo

Capresso Cafe 115 - Page 9

Capresso Cafe 115
19 pages
Print Icon
To Next Page IconTo Next Page
To Next Page IconTo Next Page
To Previous Page IconTo Previous Page
To Previous Page IconTo Previous Page
Loading...
9.
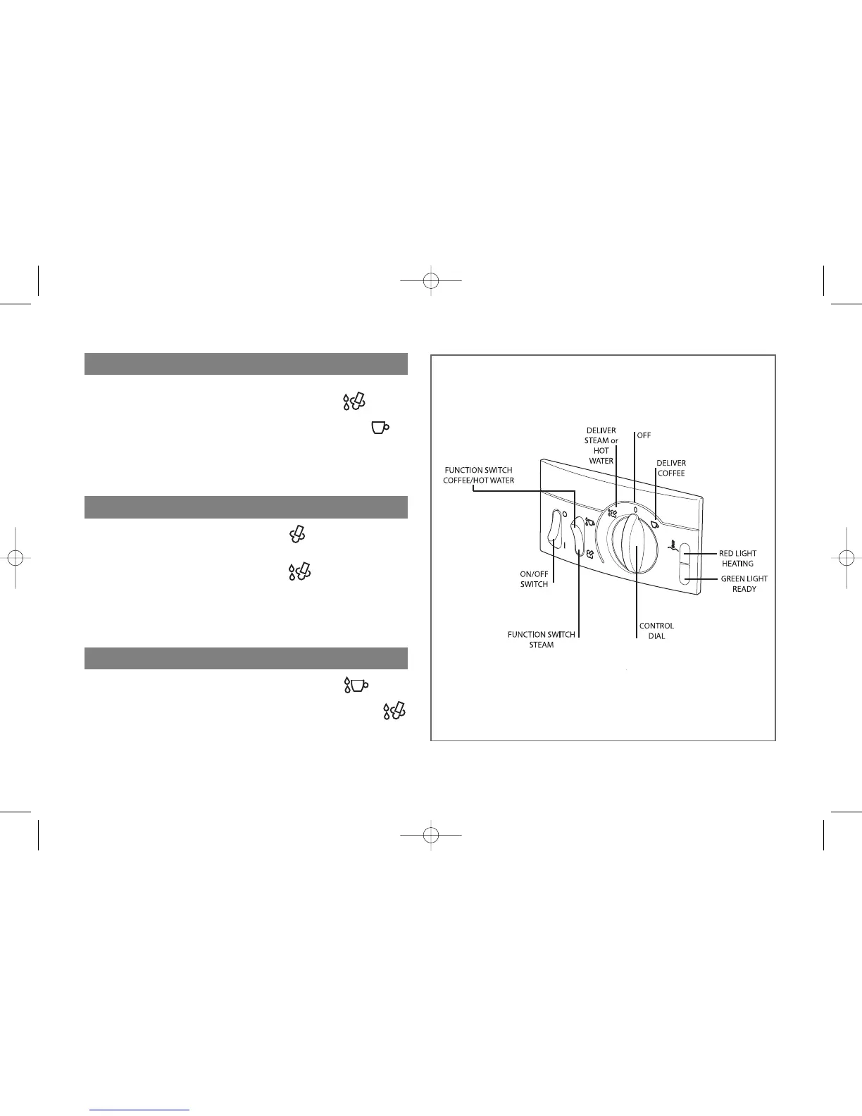
To Brew Espresso:
• Push the Function Switch to Coffee/Hot Water.
• Rotate the Control Dial to the right to deliver Coffee.
• To stop brewing espresso, turn the Control Dial back to
0.
To Deliver Steam:
• Push the Function Switch to Steam.
• Rotate the Control Dial to the left to
deliver Steam/Hot Water.
• To stop delivering steam, turn the Control Dial back to 0.
To Deliver Hot Water:
• Push the Function Switch to Coffee/Hot Water.
• Rotate the Control Dial to the left to deliver Hot Water.
• To stop delivering hot water, turn the Control Dial back to
0.
Cafe Inst Book Drop 7/27/09 1:56 PM Page 9

Related product manuals