EasyManua.ls Logo

Carrier 38AE012 - Outdoor Fan Information; Lubrication Details; Cleaning Coils

Carrier 38AE012
20 pages
To Next Page IconTo Next Page
To Next Page IconTo Next Page
To Previous Page IconTo Previous Page
To Previous Page IconTo Previous Page
Loading...
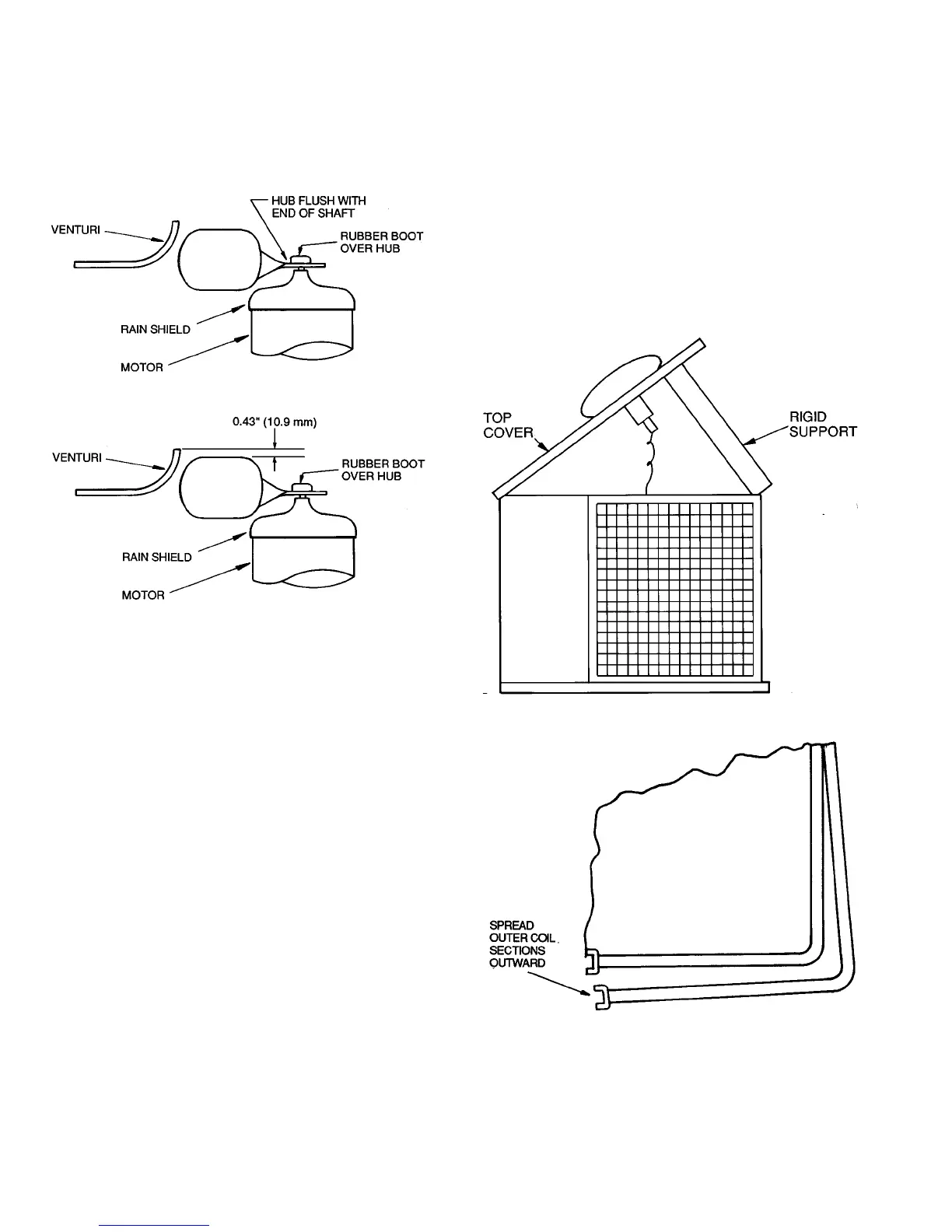
Outdoor Fans Each fan is supported by a formed-
wire mount bolted to the fan deck and covered with a wire
guard. The exposed end of the motor shaft is covered with
a rubber boot. In case a fan motor must be repaired or re-
placed, be sure the rubber boot is put back on when the fan
is reinstalled and be sure the fan guard is in place before
starting the unit. Figure 14 shows the proper position of the
mounted fan. Fan motors have permanently lubricated
bearings.
Lubrication
FAN MOTORS have sealed bearings. No provisions are made
for lubrication.
COMPRESSOR has its own oil supply. Loss of oil due to a
leak in the system should be the only reason for adding oil
after the system has been in operation. See Oil Charge
section.
Cleaning Coils The coils can be cleaned with a vacuum
cleaner, washed out with water, blown out with low-pressure
compressed air, or brushed (do not use wire brush). Fan mo-
tors are drip-proof but not waterproof.
Clean outdoor coil annually or as required by location or
outdoor air conditions. Inspect coil monthly, and clean as
required. Fins are not continuous through coil sections; dirt
and debris may pass through first section, become trapped
between the 2 rows of fins (38AE012) or 3 rows of fins
(38AE014,016, 38AKS024) and restrict outdoor airflow. Use
a flashlight to determine if dirt or debris has collected be-
tween coil sections. Clean coil as follows:
1. Turn off unit power.
2. Remove screws holding rear corner posts and top
cover in place. Pivot top cover up 12 to 18 in. (305 to
457 mm) and support with a rigid support. See Fig. 15.
3. Remove clips securing tube sheets together at the return
bend end of the coil. Carefully spread the ends of the coil
rows apart by moving the outer sections. See Fig. 16.
4. Using a water hose, or other suitable equipment, flush down
between the sections of coil to remove dirt and debris.
5. Clean the remaining surfaces in the normal manner.
6. Reposition outer coil sections.
7. Reinstall clips which secure tube sheets.
8. Replace top cover and rear corner posts.
38AE012,014,016
38AKS024
Fig. 14 Outdoor Fan
Fig. 15 Pivot and Support Top Cover
Fig. 16 Coil Cleaning (Typical)
14

Related product manuals