EasyManua.ls Logo

Carrier 38MARBQ12AA3 - Refrigerant Cycle Diagrams 9 K (208;230 V)

Carrier 38MARBQ12AA3
116 pages
To Next Page IconTo Next Page
To Next Page IconTo Next Page
To Previous Page IconTo Previous Page
To Previous Page IconTo Previous Page
Loading...
16 Specifications subject to change without notice. SG-38MARB-01
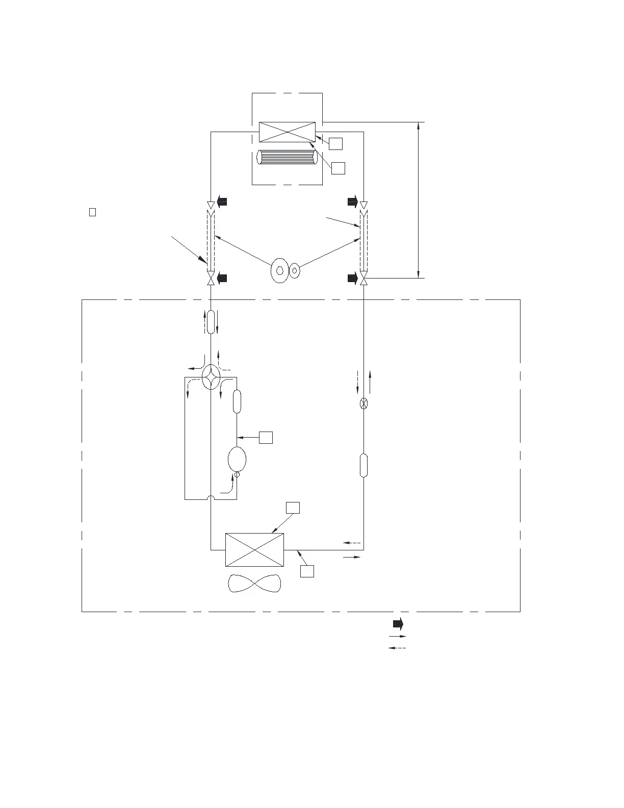
REFRIGERATION CYCLE DIAGRAMS (CONT)
Fig. 15 — Refrigerant Cycle Diagrams 9K (208/230V)
7
7
73
7
7
,1'22581,7
,QGRRUKHDW
H[FKDQJHU
&URVVIORZIDQ
'HR[LGL]HGFRSSHUSLSH
2XWHUGLDLQ
PP
7KLFNQHVVLQ
PP
^
^
6HFWLRQDOVKDSH
RIKHDWLQVXODWRU
$OORZDEOHKHLJKW
GLIIHUHQFHIWP
$OORZDEOHSLSHOHQJWK
3XOVH0RGXODWLQJ
9DOYHDWOLTXLGVLGH
6WUDLQHU
3URSHOOHUIDQ
2XWGRRUKHDW
H[FKDQJHU
&RPSUHVVRU
PRGHOQXPEHU.71'8)=
0XIIOHU
ZD\YDOYH
0XIIOHU
'HR[LGL]HGFRSSHUSLSH
2XWHUGLDLQ
PP
7KLFNQHVVLQ

PP
^
^
3
3UHVVXUHPHDVXUHPHQW
*DXJHDWWDFKLQJSRUW
9DFFXPSXPSFRQQHFWLQJSRUW
5HIQJHUDQWDPRXQWOEVNJ
287'22581,7
127(*DVOHDNFKHFNSRVLWLRQ
5HIULJHUDQWIORZ&RROLQJ
5HIULJHUDQWIORZ+HDWLQJ
Max: 82 ft (25m)
Min: 10 ft (3m)
No adjustment: 25 ft (7.5m)
Charge (greater than 25 feet 0.161 oz/ft)

Table of Contents

Related product manuals