EasyManua.ls Logo

Carrier 39LA - Page 24

Carrier 39LA
40 pages
Print Icon
To Next Page IconTo Next Page
To Next Page IconTo Next Page
To Previous Page IconTo Previous Page
To Previous Page IconTo Previous Page
Loading...
24
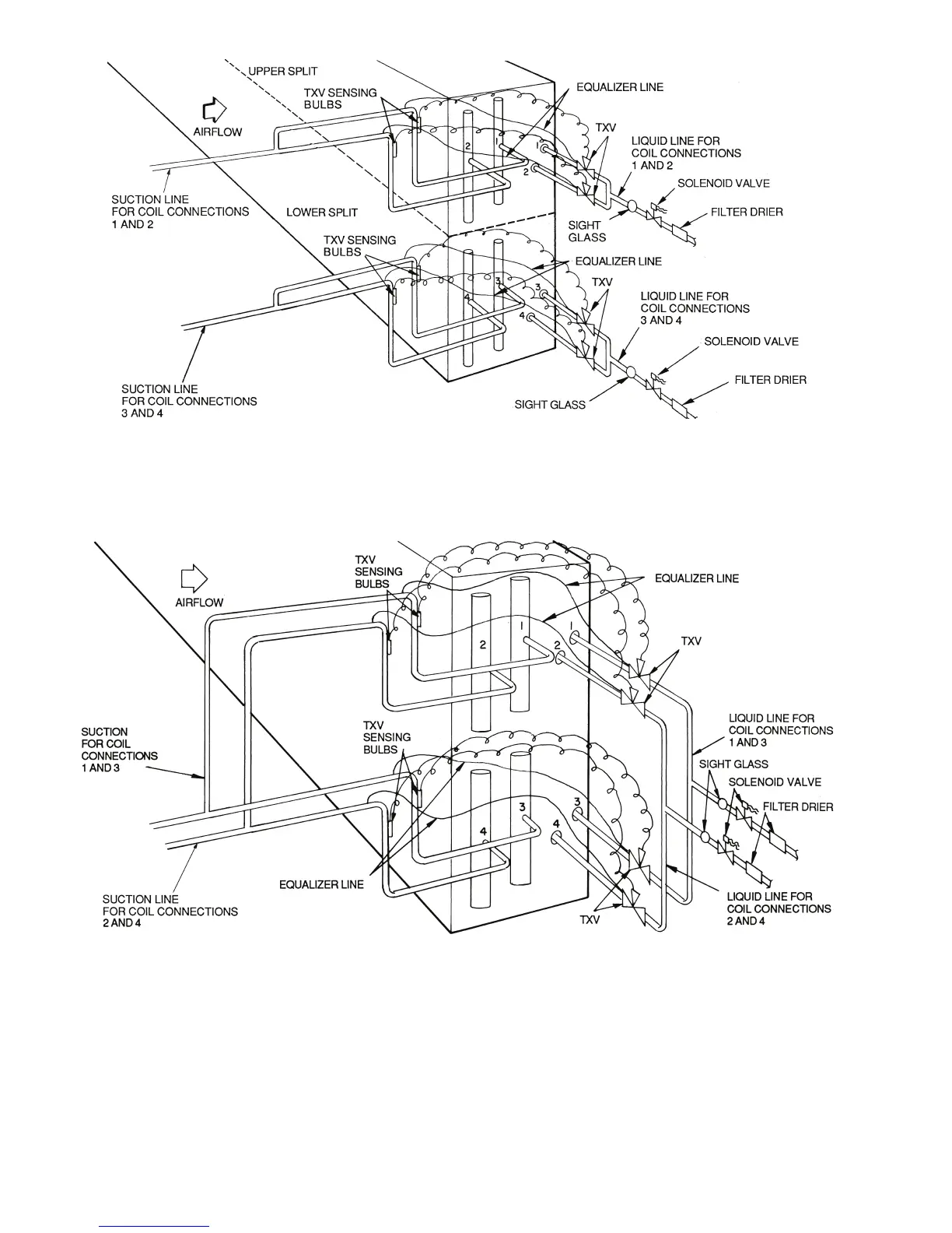
TXV — Thermostatic Expansion Valve
Fig. 29 — Face Split Coil Manifolding (Typical)
TXV — Thermostatic Expansion Valve
Fig. 30 — Row Split Coil Manifolding (Typical)

Related product manuals