EasyManua.ls Logo

Carrier 39LA - Page 33

Carrier 39LA
40 pages
Print Icon
To Next Page IconTo Next Page
To Next Page IconTo Next Page
To Previous Page IconTo Previous Page
To Previous Page IconTo Previous Page
Loading...
33
HORIZONTAL OR VERTICAL UNIT — DUAL COIL
REMOVAL (39LA,39LD units — size 25) — (NOTE: Item
numbers are in Fig. 40 unless otherwise indicated.)
1. Refer to Fig. 4 for service area requirements.
2. Disconnect piping (Item 5).
3. Horizontal Unit, 39LA — On top panel (Item 3) remove
screws located directly above side panels (Items 2 and 6).
Top panels may be removed from unit to provide more
workspace, but it is not required.
Vertical Unit, 39LD — Through fan access door (Item 2,
Fig. 39), remove screws (Item 3, Fig. 39) holding angle
(Item 4, Fig. 39) to top of coil panels (Item 7, Fig. 39).
Remove rear panel (Item 17, Fig. 39) and remove baffle
angle screws (Item 4) holding top baffle to coil.
4. Remove side panel(s) (Item 6).
NOTE: Vertical units may require support of fan section
after removal of side panels.
5. If accessory is present, remove accessory side panel (Item
1) on left side of unit. Detach filter track support bracket
if upstream accessory is a filter.
6. Remove screws from horizontal baffle (Item 8). Leave
baffle attached to upper condensate pan (Item 9).
7. Remove screws from inside baffles (Item 7). Leave
baffles attached to left side panel (Item 2).
8. Slide coils and header and baffles from unit.
9. Replace coils by reversing proceeding Steps 1-8.
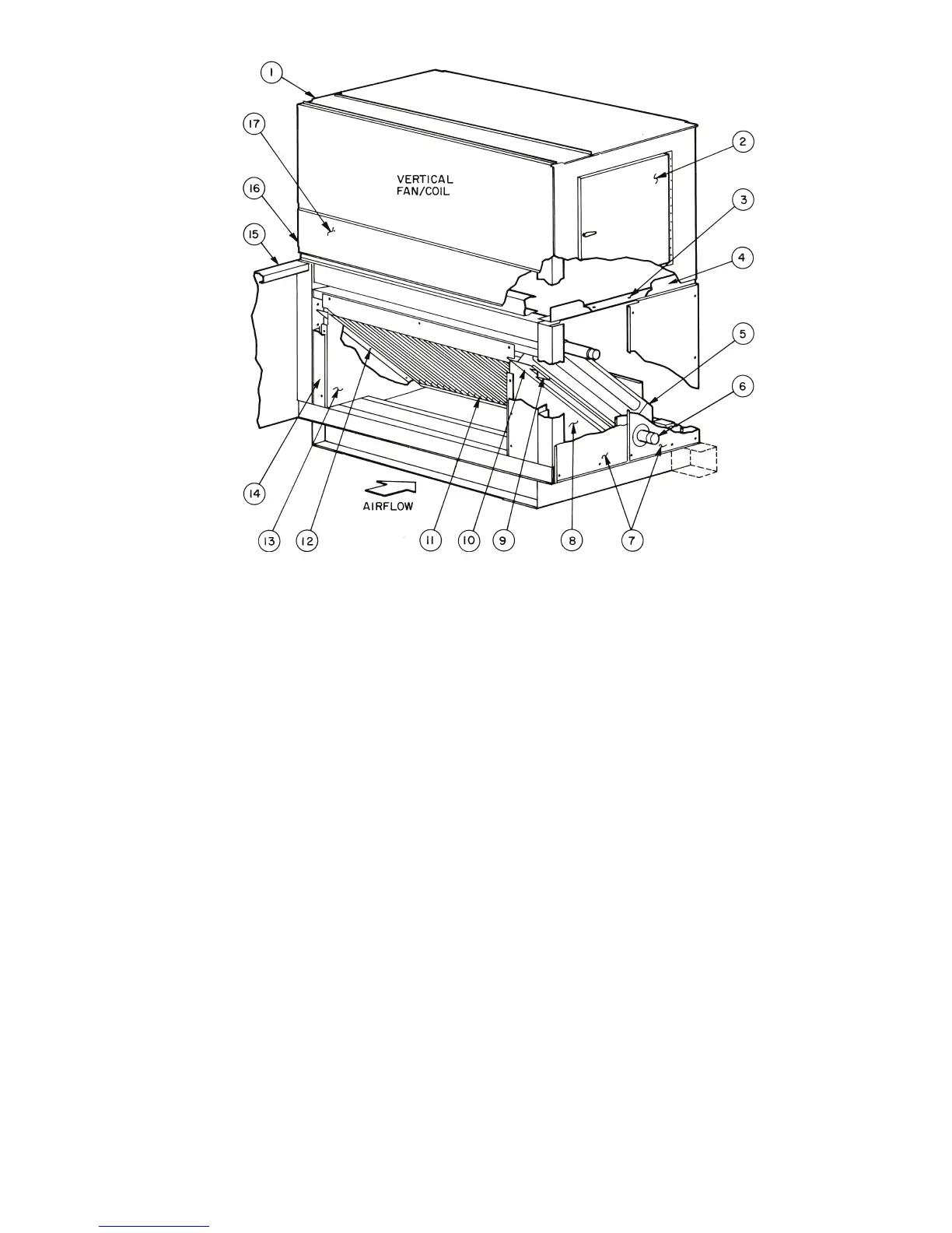
LEGEND
Fig. 39 — Vertical Unit Slant Coil Removal (39LD Units — Sizes 03-21)
1— Fan Side Panel 10 Holddown Screws
2— Fan Access Door 11 Coil
3— Screws 12 Holddown Screws
4— Angle 13 Left Support Panel
5— Baffle Screws 14 Inside Baffle
6— Piping 15 Accessory Side Panel
7— Right Side Panels 16 Left Side Panels
8— Right Support Panel 17 Rear Panel
9— Condensate Baffle

Related product manuals