EasyManua.ls Logo

Carrier 59MN7A - Page 26

Carrier 59MN7A
98 pages
To Next Page IconTo Next Page
To Next Page IconTo Next Page
To Previous Page IconTo Previous Page
To Previous Page IconTo Previous Page
Loading...
26
ANY COMBINATION OF 1, 2, OR 3 PERMITTED.
A11036
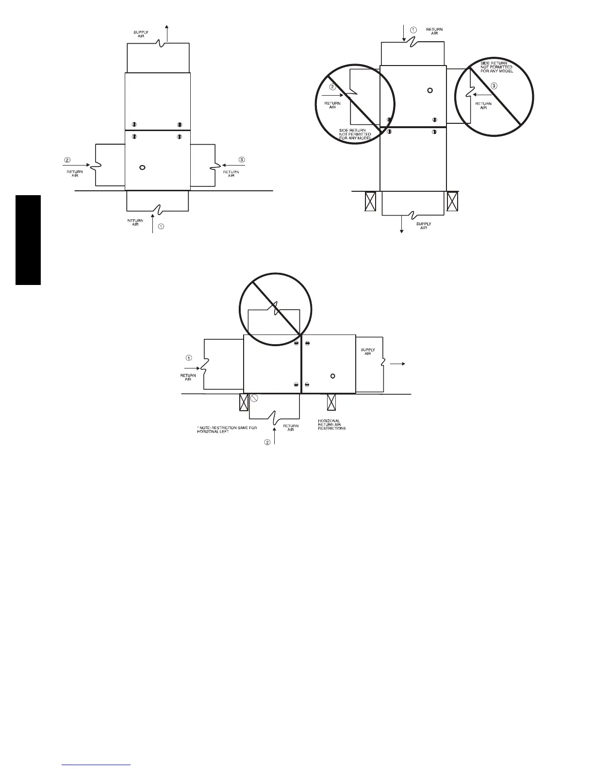
Fig. 23 -- Upflow Return Air Configurations and Restrictions
A11037
Fig. 24 -- Downflow Return Air Configurations
and Restrictions
HORIZONTAL TOP
RETURN NOT
PERMITTED FOR
ANY MODEL
A11038
Fig. 25 -- Horizontal Return Air Configurations
and Restrictions
59MN7A

Other manuals for Carrier 59MN7A

Related product manuals