EasyManua.ls Logo

Carrier GR-60 - 1.9 Heating Cycle

Carrier GR-60
56 pages
To Next Page IconTo Next Page
To Next Page IconTo Next Page
To Previous Page IconTo Previous Page
To Previous Page IconTo Previous Page
Loading...
1-8
T--295
COMPRESSOR
MAIN ENGINE
RADIATOR
SUPPLY
RETURN
HEAT
VALVE
BOOST
PUMP
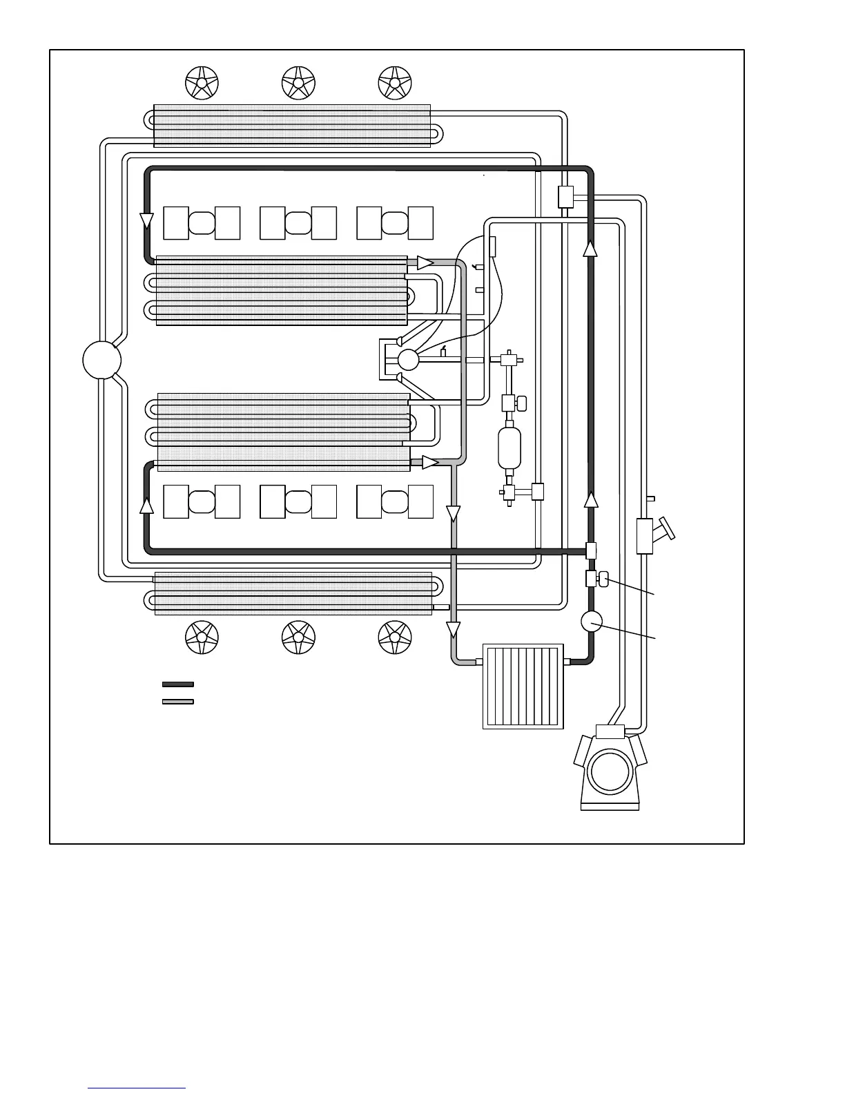
Figure 1-7. Heating Cycle Flow Diagram
(GR60 Shown)
1.9 HEATING CYCLE
Heating circuit (Figure 1-7) components furnished by
Carrier Transicold include the integral evaporator coil
heater cores and a solenoid operated heat valve.
Components furnishedby thebus manufacturer include
auxiliary heater and boost water pump. The controller
automatically controls theheat valveduring the heating
and reheat modes to maintain required temperatures
inside the bus. Engine coolant (glycol solution) is
circulated through the heating circuit by the engine and
an auxiliary boost water pump. When the heat valve
solenoid is energized, the valve will open to allow
enginecoolanttoflowthroughtheheatercoil. Thevalve
is normally closed so that if a failure occurs, the system
will be able to cool.

Table of Contents

Related product manuals