EasyManua.ls Logo

Case IH 4440 - Sensors

Case IH 4440
48 pages
Print Icon
To Next Page IconTo Next Page
To Next Page IconTo Next Page
To Previous Page IconTo Previous Page
To Previous Page IconTo Previous Page
Loading...
CHAPTER 7
40 Case IH 3230/3240/3320/3330/3340 & 4420/4430/4440, Model Year 2010 & Newer ISO AutoBoom® Installation Manual
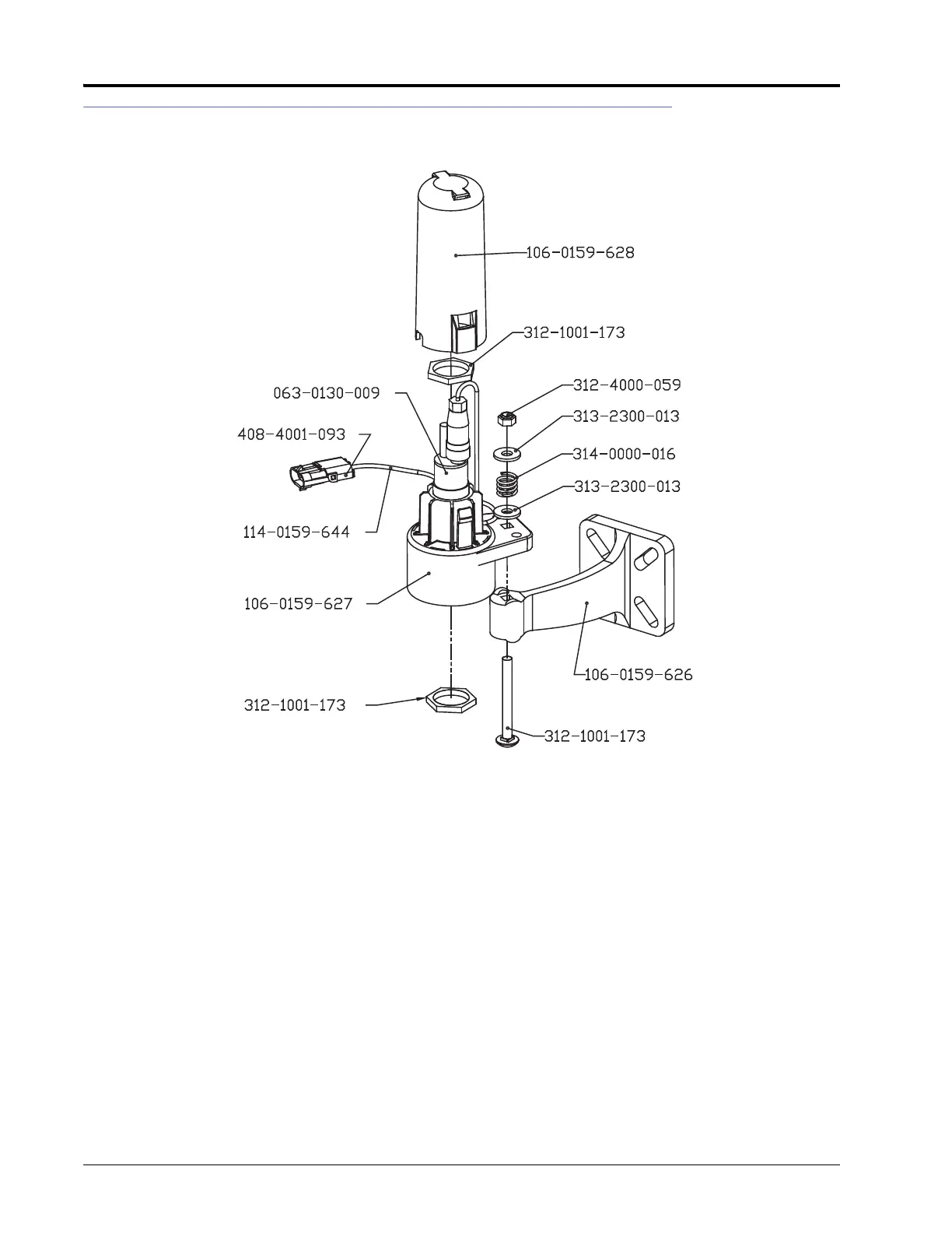
SENSORS

Related product manuals