EasyManua.ls Logo

Case 2010 - Page 75

Case 2010
106 pages
Print Icon
To Next Page IconTo Next Page
To Next Page IconTo Next Page
To Previous Page IconTo Previous Page
To Previous Page IconTo Previous Page
Loading...
SECTION 58 - ATTACHMENT/HEADERS - CHAPTER 2
58-19
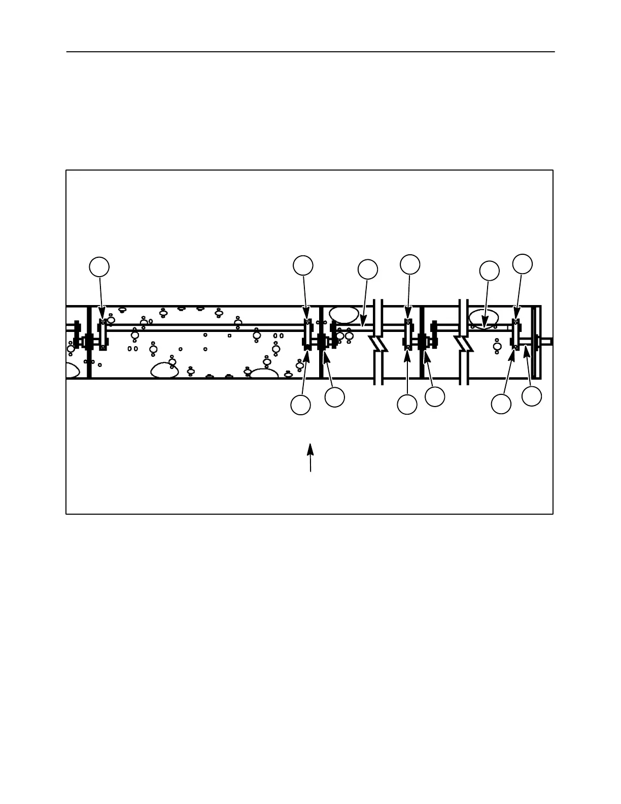
EXAMPLE: The center shaft must be removed for
repair. Remove right end shaft, 1. Loosen clamping
bolts, 2. Free bearings, 3, from mounting plates. Take
out shafts, 4, and, 5, to the right.
NOTE: Spare finger mounting tees should be
installed during shaft replacement.
8. Set the new or repaired shaft into position along
the assembly.
IMPORTANT: Timing of the shafts is extremely
important. When assembled, the shafts should be in
a straight line. If the shafts are not lined up, the
fingers may be fully extended at the rear of the auger.
If insufficient clearance exists in this position for the
fingers, damage will occur.
10008321
LEFT RIGHT
TOP
2
2
2
2
4
1
2
2
2
3
3
5
47

Related product manuals