EasyManua.ls Logo

Case W9 - Lubrication Points

Case W9
41 pages
Print Icon
To Next Page IconTo Next Page
To Next Page IconTo Next Page
To Previous Page IconTo Previous Page
To Previous Page IconTo Previous Page
Loading...
Lubrication
Points
The
following
points
are
to
be
lubricated
once
every
10
hours
of
operation
or
daily.
In
severe
or
abnormal
working
conditions
lubrication
should
be
more
often.
Clean
grease
fittings
before
applying
grease
gun.
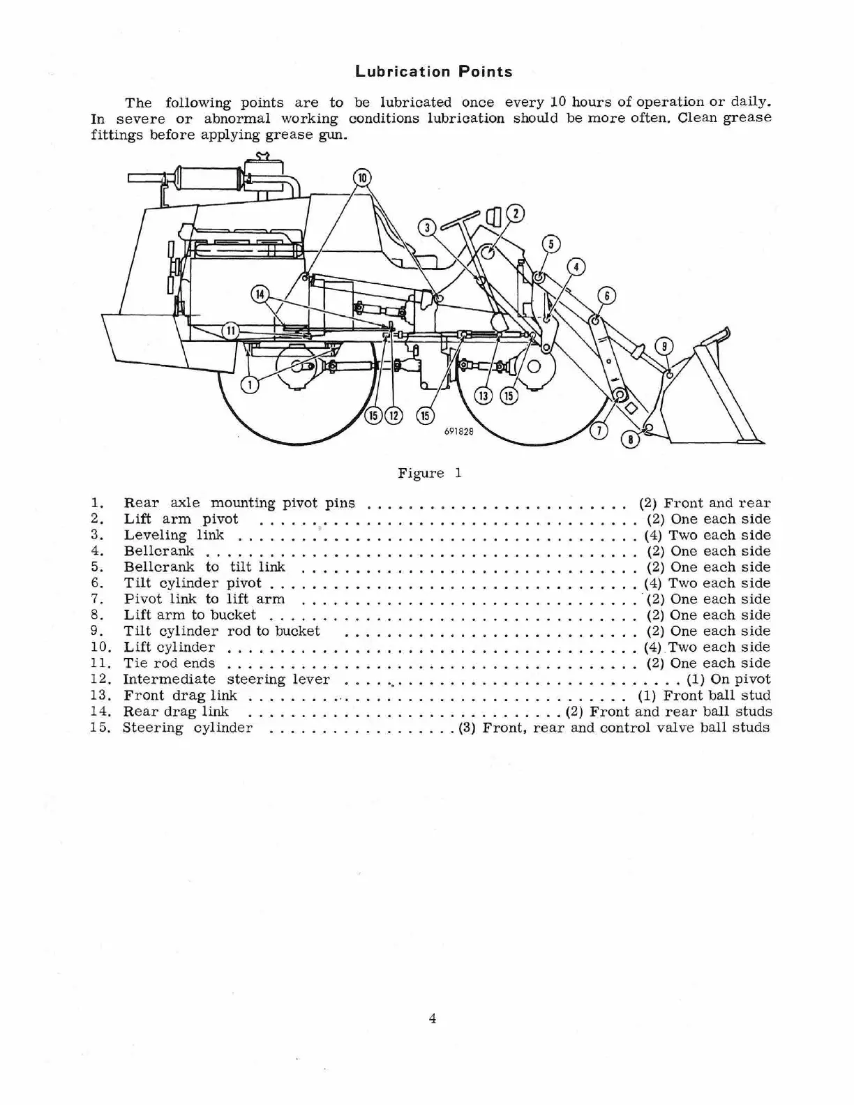
Figure
1
1.
Rear
axle
mounting
pivot
pins
. . . . . . . . . . . . . . . . . . . . . . (2)
Front
and
rear
2.
Lift
arm
pivot
. . . . . . . . . . . . . . . . . . . . . (2)
One
each
side
3.
Leveling
link
. . . . . . . . ' . . . . . . . . . . . . . . . . . . . . . . . ( 4) Two
each
side
4.
Bellcrank
. . . . . . . . . . . . . . . . . . . . . . . . . . . . . . . . . . . . (2) One
each
side
5.
Bellcrank
to
tilt
link
. . . . . . . . . . . . . . . . . (2)
One
each
side
6.
Tilt
cylinder
pivot
. . . . . . . . . . . . . . . . . . . . . (4)
Two
each
side
7.
Pivot
link
to
lift
arm
. . . . . . . . . . . . . . . . . . · (2)
One
each
side
8.
Lift
arm
to
bucket
. . . . . . . . . . . . . . . . . . . . . . . . (2)
One
each
side
9.
Tilt
cylinder
rod
to
bucket
. . . . . . . . . . . (2) One
each
side
10.
Lift
cylinder
. . . . . . . . . . . . . . . . . . . . . . . . . . . . (4)
Two
each
side
11.
Tie
rod
ends
. . . . . . . . . . . . . . . . . . . . . . . . . . . . . (2) One
each
side
12.
Intermediate
steering
lever
. . . .
..
. . . . . . . . . . . . . . .
..........
(1)
On
pivot
13.
Front
drag
link
. . . . . . . . . . . . . . . . . . . . . . . . . . . . . . . . . . . . (1)
Front
ball
stud
14.
Rear
drag
link
...........................
(2)
Front
and
rear
ball
studs
15.
Steering
cylinder
..................
(3)
Front,
rear
and
control
valve
ball
studs
4
Find manuals at https://best-manuals.com

Related product manuals