EasyManua.ls Logo

Casio FA-123 - Page 3

Casio FA-123
17 pages
Print Icon
To Next Page IconTo Next Page
To Next Page IconTo Next Page
To Previous Page IconTo Previous Page
To Previous Page IconTo Previous Page
Loading...
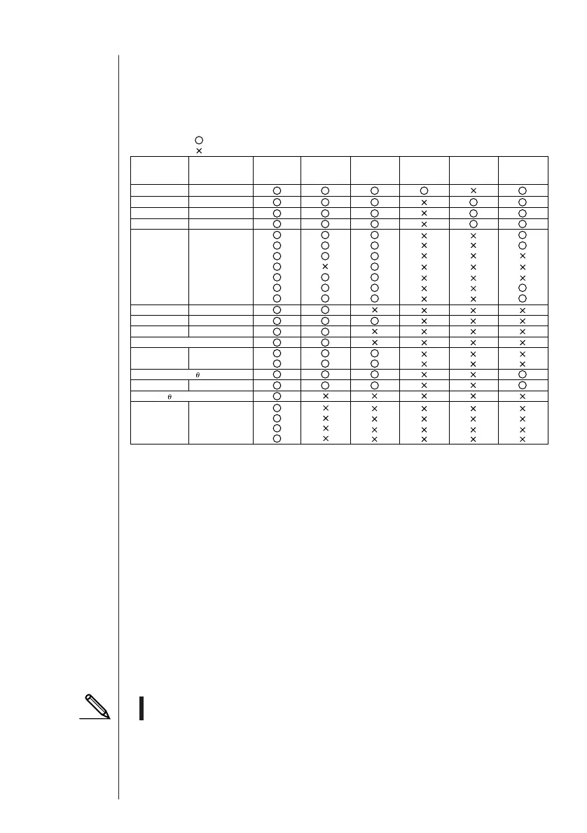
Group Item Display Editing
CSV
Conversion
(A)-(B)
Conversion
CFX-9850/fx-7400
Series *(B)
Program
Matrix
List
List File
Y=Data
Graph Memory
V-Window Mem
Picture
DynaMem
Equation
Alpha Memory(A~Z,r, )
F-Mem n
CAS(A~Z,r, )
Algebra
Data from an older model CASIO Graphic Scientific Calculator is converted to CFX-9850/fx-7400 Series format data.
Program name
MatA~MatZ
List1~List20
File1~File6
Graph Function
Recursion Function
V-Window
RightV-Window
Graph Factor
Table Range
Recursion Range
G-Mem1~G-Mem20
V-Win1~V-Win6
Pict1~Pict20
Simul Equation
Poly Equation
f1~f20
ANS
InputReplay
OutputReplay
Equation
ALGEBRA FX
Series *(A)
YES
NO
(1-6)
(1-6)
(1-6)
(1-6)
…
…
6
u Text files
This type of file consists of two parts: a group and the multiple items stored under it.
Except for graphic data, all items can be displayed on a computer screen, and pro-
grams can be edited on the computer.
Text Files
u Back-up file
This file contains the data produced when you back up all of the data in calculator
memory.
u Graphic files
This type of file contains the data produced when you use the screen capture func-
tion to create a bit pattern of the screen and save the bit pattern to your computer.
Graphic data is saved using one of the two following file formats.
Windows: Bitmap
Macintosh: PICT
Graphic data can also be converted to one of the following file formats.
Windows: TIFF, PCX
Macintosh: TIFF
Graphic files saved as one of the above file formats cannot be opened using
Program-Link.

Related product manuals