EasyManua.ls Logo

Casio FC-100V - Page 38

Casio FC-100V
149 pages
Print Icon
To Next Page IconTo Next Page
To Next Page IconTo Next Page
To Previous Page IconTo Previous Page
To Previous Page IconTo Previous Page
Loading...
E-36
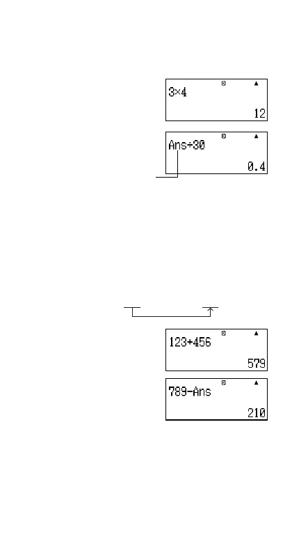
A Using Answer Memory to Perform a Series
of Calculations
Example: To divide the result of 3 × 4 by 30
3*4E
(Continuing)/30E
Pressing / automatically inputs
“Ans” command.
•With the above procedure, you need to perform the
second calculation immediately after the first one. If you
need to recall Answer Memory contents after pressing
A, press the G key.
A Inputting Answer Memory Contents into an
Expression
Example: To perform the calculations shown below:
123+456E
789-GE
123 + 456 = 579 789 – 579 = 210

Table of Contents

Related product manuals