EasyManua.ls Logo

Cavist 21 - Handle Installation; Electronic Control

Default Icon
41 pages
Print Icon
To Next Page IconTo Next Page
To Next Page IconTo Next Page
To Previous Page IconTo Previous Page
To Previous Page IconTo Previous Page
Loading...
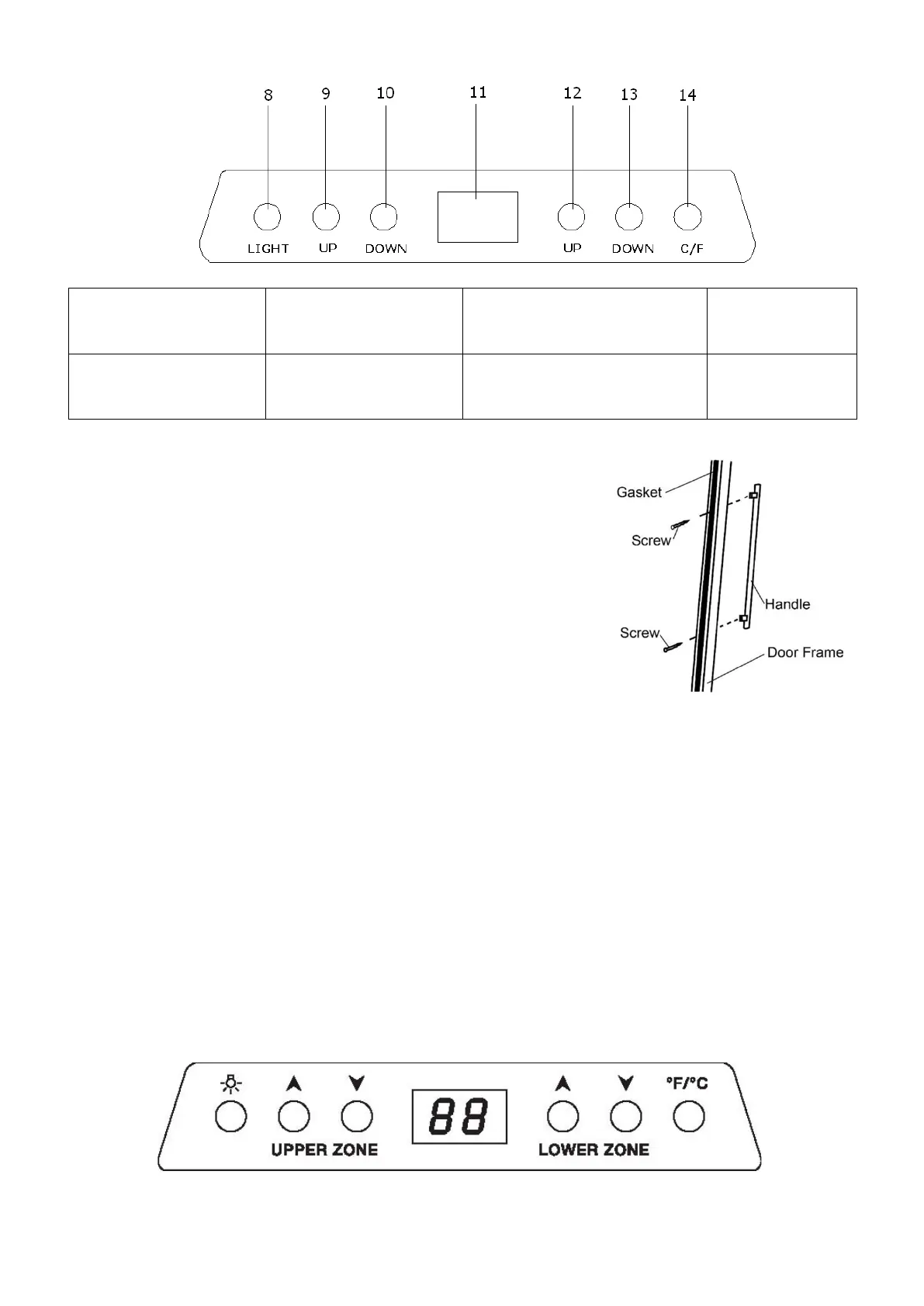
HANDLE INSTALLATION
To install the door handle follow the below steps:
1. Open the door of the appliance and move the door gasket
slightly to one side so that you can see two designated holes
for handle installation
2. Install the handle tightly as shown in the diagram above with
the two screws provided.
3. Ensure the door gasket falls back into place and that the
door opens and closes correctly.
IV. OPERATION OF WINE COOLER
It is recommended you install the wine cooler in a place where the ambient temperature is
between 23º-26ºC/72º-78ºF. If the ambient temperature is outside this range, the performance of
the unit may be affected. Placing your unit in extreme cold or hot conditions may cause interior
temperatures fluctuation.
Recommended temperatures for chilling wine:
Red wines: 14-18°C/57-65°F
White wines: 9-14°C/49-58°F
Rosé wines: 10-11°C/51-53°F
Sparkling wines: 5-9°C/40-49°F
ELECTRONIC CONTROL
8. Light button
9. Set temp up button
for upper zone
11.Lcd display
12. Set temp up
button for lower zone
13. Set temp down
button for lower zone

Related product manuals