EasyManua.ls Logo

CBE CB522-LT - Installation Guidelines; Important Safety and Usage Notes; Battery Charger Installation; Cable Connections and Warnings

CBE CB522-LT
Print Icon
To Next Page IconTo Next Page
To Next Page IconTo Next Page
To Previous Page IconTo Previous Page
To Previous Page IconTo Previous Page
Loading...
INSTALLATION
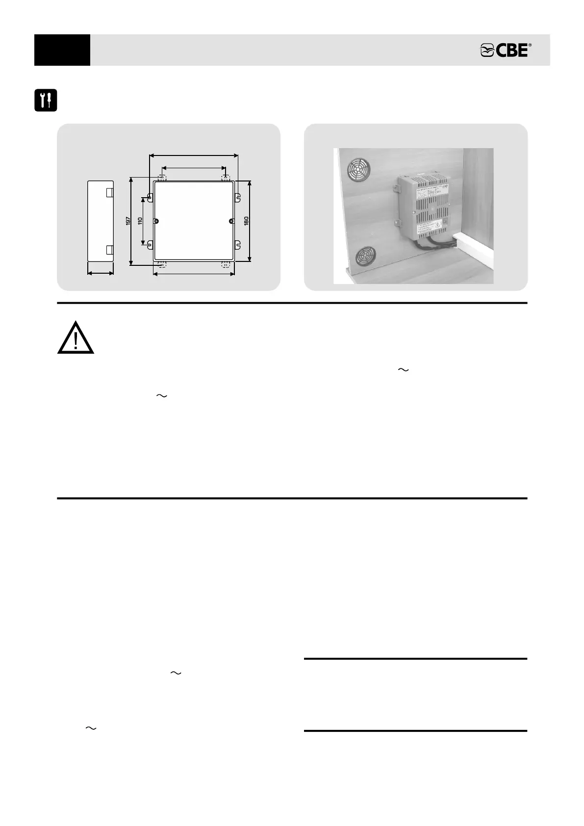
Fig.1 - DIMENSIONS (mm): Fig.2 - VERTICAL INSTALLATION
IMPORTANT:
> The installation of this device must be carried out by specialist technicians.
> :Caution, do not connect the battery charger
- when a generator set with non stabilised output voltage is employed
- with power mains voltage exceeding the rated value (230V ±10%)
> Do not carry out any maintenance when the battery charger is connected to the
230V power supply net.
> In case of battery charger misuse, the guarantee becomes invalid and the manufacturer
declines all responsibility for damages to people and property.
> or more peopleThis appliance can be used by children aged 8 years and with reduced
physical, sensory or mental capabilities or lack of experience knowledgeor , only
provided they are being supervised or they have been i ed the nstruct concerning use of
the appliance in a safe way and understand the hazards involved. Children shall that they
not play with the appliance.
10
EN
190
85
160
207
BATTERY CHARGER
- Install the battery charger in an appropriate housing,
dry and ventilated; maximum efficiency can be
obtained hen the battery charger is installed in a w
vertical position (see figure 2), keeping the front at a
minimum istance of 300 mm and the bottom and top d
at a minimum distance of 100 mm from the housing
sides.
- Do not cover air intakes.
- T o guarantee proper air exchange, installation of
two air intakes (one placed on the top and one on
the ottom, see figure 2) ensure a working b
temperature inside the housing not exceeding
50°C.
- M ake sure that the 230V safety switch can be
easily reached.
- T he connection to power supply mains shall be
made in accordance with national installation rules.
- B efore disconnecting the battery charger from
230V power supply, turn the safety switch off.
- I nstallation requires the fixing of 4 pins that can be
easily placed on the 4 sides.
- T he battery charger can be installed together with
CBE 12V and 230V distribution panels, using the
appropriate modular joints.
CABLES
- M ains connection: use a 3x1.5mm² cable, type
H05 RN-F or equivalent.
- B attery connection: use N07 V-K cables having
adequate section (minimum section cross cross
6mm²).
- F cable fasteningsix the cables with the relevant
devices supplied.
- Protect cables from any possible damage.
WARNING:
> with Do not use “not rechargeable" batteries.
> Exhausted batteries shall be disposed in
accordance with existing environmental
protection regulations.

Related product manuals