EasyManua.ls Logo

CCL ELECTRONICS C6078A - Temperature; Humidity Function; Trend Indicator; Wind

CCL ELECTRONICS C6078A
29 pages
Print Icon
To Next Page IconTo Next Page
To Next Page IconTo Next Page
To Previous Page IconTo Previous Page
To Previous Page IconTo Previous Page
Loading...
16
TEMPERATURE / HUMIDITY FUNCTION
- The temperature and humidity reading are display on the out and in / CH section.
- Use the [ °C / °F ] slide switch to select the temperature display unit.
- If temperature / humidity is below the measurement range, the reading will show “Lo”. If temperature /
humidity is above the measurement range, the reading will show “HI”.
COMFORT INDICATION
The comfort indication is a pictorial indication based on
indoor air temperature and humidity in an attempt to
determine comfort level.
Too cold Comfortable Too hot
NOTE:
- Comfort indication can vary under the same temperature, depending on the humidity.
- There is no comfort indication when temperature is below 0°C (32°F) or over 60°C (140°F).
WIRELESS SENSOR SIGNAL RECEIVING
1. The console display signal strength for the wireless sensor(s), as per table below:
Wireless 7-in-1 sensor
Channel sensor
No signal Weak signal Good signal
2. If the signal has discontinued and does not recover within 15 minutes, the signal icon will
disappear. The temperature and humidity will display “Er” for the corresponding channel.
3. If the signal does not recover within 48 hours, the “Er” display will become permanent. You
need to replace the batteries and then press [ SENSOR / WI-FI] key to pair up the sensor
again.
VIEW THE OTHER INDOOR CHANNELS (OPTIONAL FEATURE WITH ADD ON EXTRA
SENSORS)
This console is capable to pair with a wireless 7-IN-1 sensor and up to 7 wireless indoor sensors. If you
have 2 or more Indoor sensors, you can press [ CHANNEL ] key to switch between di󰀨erent wireless
channels in normal mode, or press and hold [ CHANNEL ] key for 2 seconds to toggle auto-cycle mode to
display the connected channels at 4 seconds interval.
During auto-cycle mode, the " " icon will show on the indoor channel section of the console display.
Press [ CHANNEL ] key to stop auto cycle and display the current channel.
TREND INDICATOR
The trend indicator shows the trends of changes in the forthcoming
few minutes. The icon will appear in temperature, humidity, index and
baro section.
Rising Steady Falling
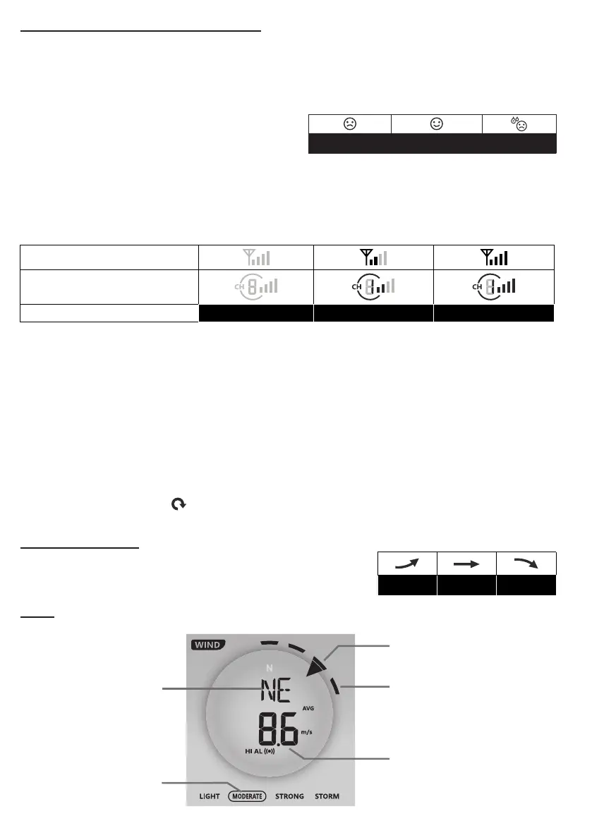
WIND
WIND SPEED AND DIRECTION SECTION OVERVIEW
Past wind
directions indicator
of last 5 minutes
Wind direction
Wind speed
level indicator
Real time wind
direction indicator
Average / gust
wind speed or
Beaufort scale