EasyManua.ls Logo

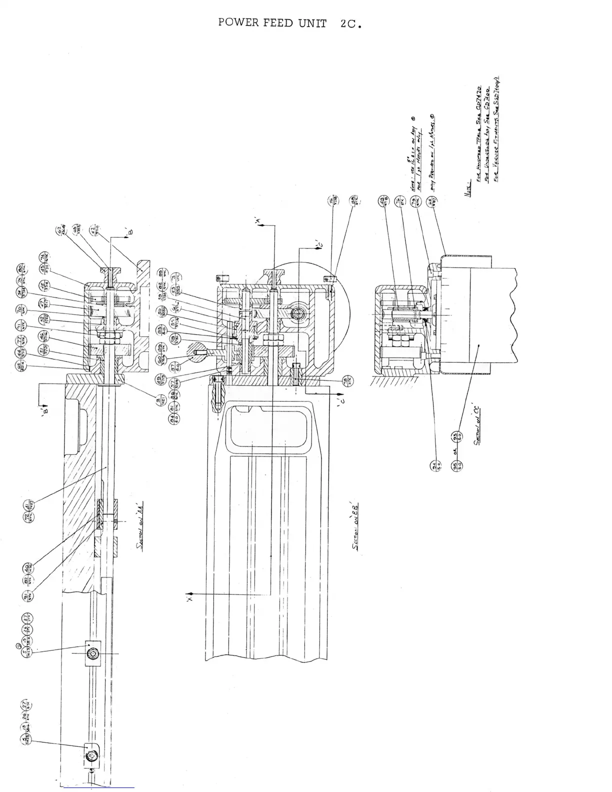
Centec 2A - Power Feed Unit 2 C

Centec 2A
17 pages
Print Icon
To Next Page IconTo Next Page
To Next Page IconTo Next Page
To Previous Page IconTo Previous Page
To Previous Page IconTo Previous Page
Loading...

Related product manuals