EasyManua.ls Logo

Changchai L26 - 1. Technical Data; Dimensions

Changchai L26
44 pages
Print Icon
To Next Page IconTo Next Page
To Next Page IconTo Next Page
To Previous Page IconTo Previous Page
To Previous Page IconTo Previous Page
Loading...
58'
l.:-~1..!~..LBrt!lL
\l>Qi!ndt!Cat!11_
r
I
I
I
~l
\
~
-,
~
~
1,10
1
1
I
-\
j ,
--
---t
!
I I 1
~
11---------- ..
..Jj1L
_L"=--.J
i
~-i+-J::I
!=-..m-__
r
!
l--_H~----J
J
!.
916
______.
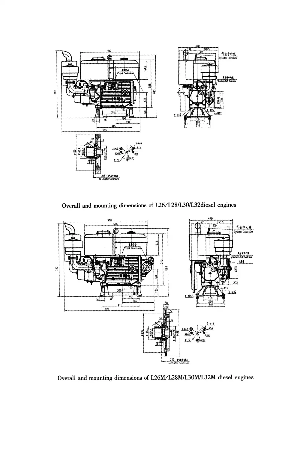
Overall
and
mounting
dimensions
of
L261L281L301L32diesel
engines
Overall
and
mounting
dimensions
of
L26MIL28MIL30MIL32M
diesel engines