EasyManua.ls Logo

Chappee Initia SUPER 1.24 FF - Maintenance Procedures; Servicing Instructions

Chappee Initia SUPER 1.24 FF
50 pages
Print Icon
To Next Page IconTo Next Page
To Next Page IconTo Next Page
To Previous Page IconTo Previous Page
To Previous Page IconTo Previous Page
Loading...
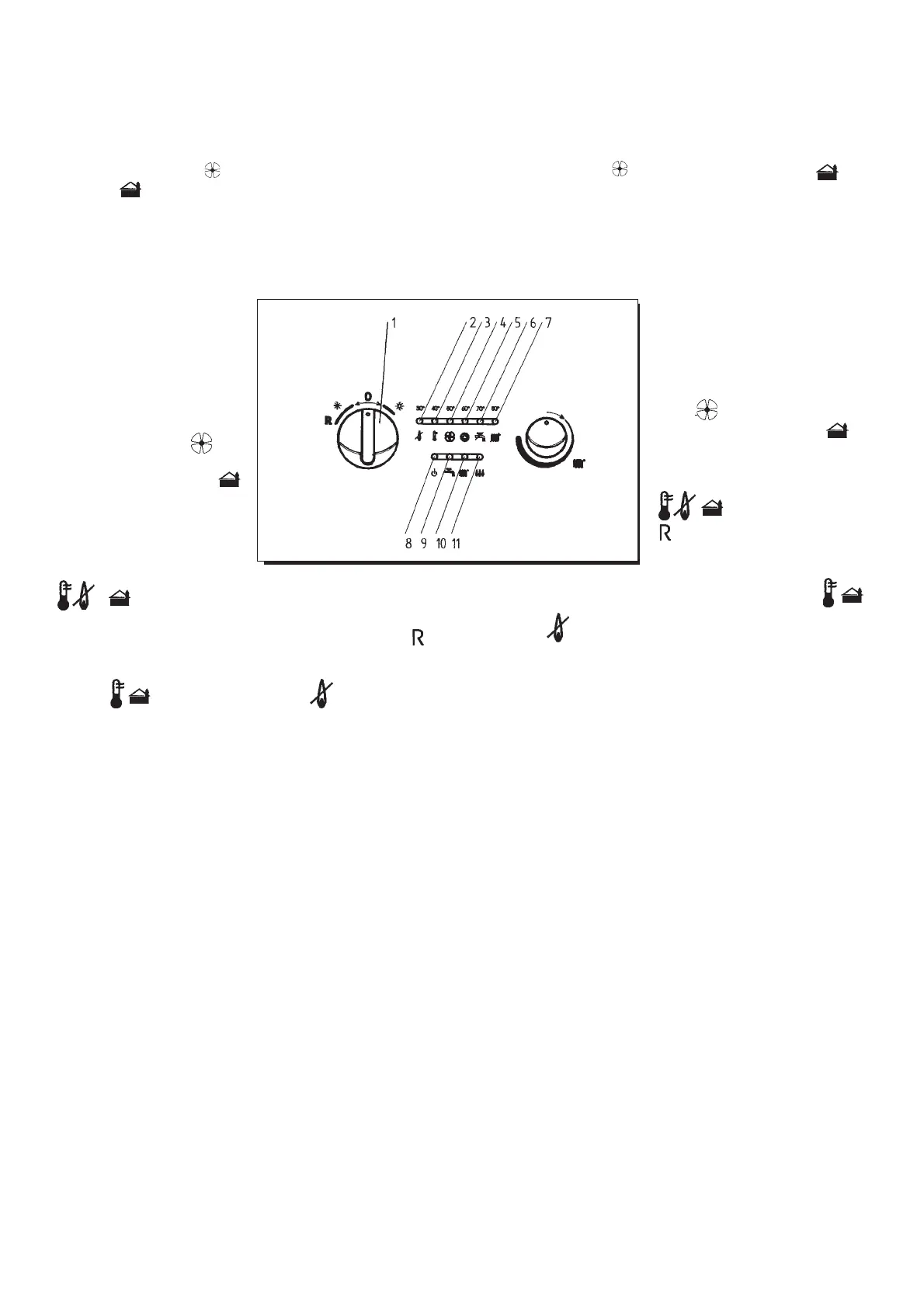
7
Safety device indicators -
activation
1 Summer-Winter-Reset selector
2 Gas block indicator
3 Overheat thermostat has switched on
4 Blocked flue indicator
or Flue thermostat has switched on
5 Lack of water or blocked pump indicator
6 DHW sensor anomaly indicator
7 Central heating sensor anomaly indicator
8Voltage presence indicator
9 DHW production mode indicator
10 Central heating mode indicator
11 Flame presence indicator
Messages 2÷7 display the temperature
reached by the heating system.
Operating faults are indicated by a
FLASHING display.
As regards message (4), the control
panel on the boiler will display the
symbol
for sealed-chamber forced-
flow models, or the symbol for
natural draught models (without fan).
If one of the following faults occurs
(
), turn the selector (1) to
( ) for at least 1 second to restore
normal operating conditions (see
figure 4). In the event that one of the
following faults is displayed (
),
the message ( ) will be flashed as well.
In the event of message (5), check that the system pressure corresponds
to the level specified in the section on page 6.
If safety device activation is repeated contact the authorised Technical
Assistance Services.
Servicing instructions
To maintain efficient and safe operation of your boiler have it checked by
a Qualified Service Engineer at the end of every operating period
.
Careful servicing will ensure economical operation of the system.
Do not clean the outer casing of the appliance with abrasive, aggressive
and/or easily flammable cleaners (i.e.: gasoline, alcohol, and so on).
Always isolate the electrical supply to the appliance before cleaning it
(see section Turning off the boiler on page 6).
Figura 4
εικνα 4
Λυχνίες µηχανισµών
ασφαλείας - Ενεργοποίηση
1. Επιλογέας καλοκαίρι - χειµώνας - Reset.
2. Λυχνία µπλοκαρίσµατος αερίου.
3. Θερµοστάτης υπερθέρµανσης ανοιχτς.
4. Λυχνία µπλοκαρίσµατος
, καπνοδχος ή θερµοστάτης καυσαερίων
ανοιχτς
.
5. Λυχνία έλλειψης νερού ή µπλοκαρίσµατος αντλίας.
6. Λυχνία αισθητήρα προβλήµατος ζεστού νερού χρήσης.
7. Λυχνία αισθητήρα προβλήµατος κεντρικής θέρµανσης.
8. Λυχνία ηλεκτρικής παροχής.
9. Λυχνία κατάστασης παραγωγής ζεστού νερού χρήσης.
10. Λυχνία κατάστασης κεντρικής θέρµανσης.
11. Λυχνία ένδειξης ύπαρξης φλγας.
Τα µηνύµατα 2-7 δείχνουν τη
θερµοκρασία που έχει φτάσει το
σύστηµα. Τα προβλήµατα
λειτουργίασ φαίνονται απ το τι
η ένδειξη αναβοσβήνει.
σο αφορά την ένδειξη 4, ο
πίνακασ ελέγχου του λέβητα θα
δείξει το σύµβολο για
µοντέλα βεβιασµένησ ροήσ
καυσαερίων ή το σύµβολο
για µοντέλα φυσικήσ ροήσ
(χωρίσ ανεµιστήρα).
Σε περίπτωση εµφάνισησ µιασ εκ
των παρακάτω ανωµαλιών
( ) µπορείτε να
αποκαταστήσετε τισ κανονικέσ συνθήκεσ λειτουργίασ τοποθετώντασ
επί 1 τουλάχιστον δευτερλεπτο τον επιλογέα (1) στη θέση ( ) (βλ.
εικ. 4).
Στην περίπτωση που υπάρχει ένδειξη για µια απ τισ παρακάτω
βλάβεσ (
) θα αναβοσβήνει και το ( ) .
Στην περίπτωση του (5), ελέγξτε τι η πίεση του συστήµατοσ
ανταποκρίνεται στα επίπεδα που αναφέρονται στην αρχή τησ σελίδασ 6.
Οδηγίες Συντήρησης
Για να έχετε αποδοτική και ασφαλή λειτουργία του λέβητά σασ, πρέπει
να τον ελέγχει µετά το τέλοσ κάθε περιδου ειδικσ τεχνικσ.
Προσεκτική συντήρησησ θα εξασφαλίσει οικονοµική λειτουργία. Μην
καθαρίζετε το εξωτερικ µε καθαριστικά που µπορούν να
προκαλέσουν γδαρσίµατα ή φθορά (π.χ. βενζίνη, οινπνευµα κ.λ.π.).
Πάντα να κλείνετε το ρεύµα πριν καθαρίσετε τη µονάδα (βλέπε τον
τερµατισµ λειτουργίασ στη σελ. 6).
0010230400

Table of Contents

Related product manuals