EasyManua.ls Logo

Chrysler M440 - Voltage Regulator; Wiring Diagram

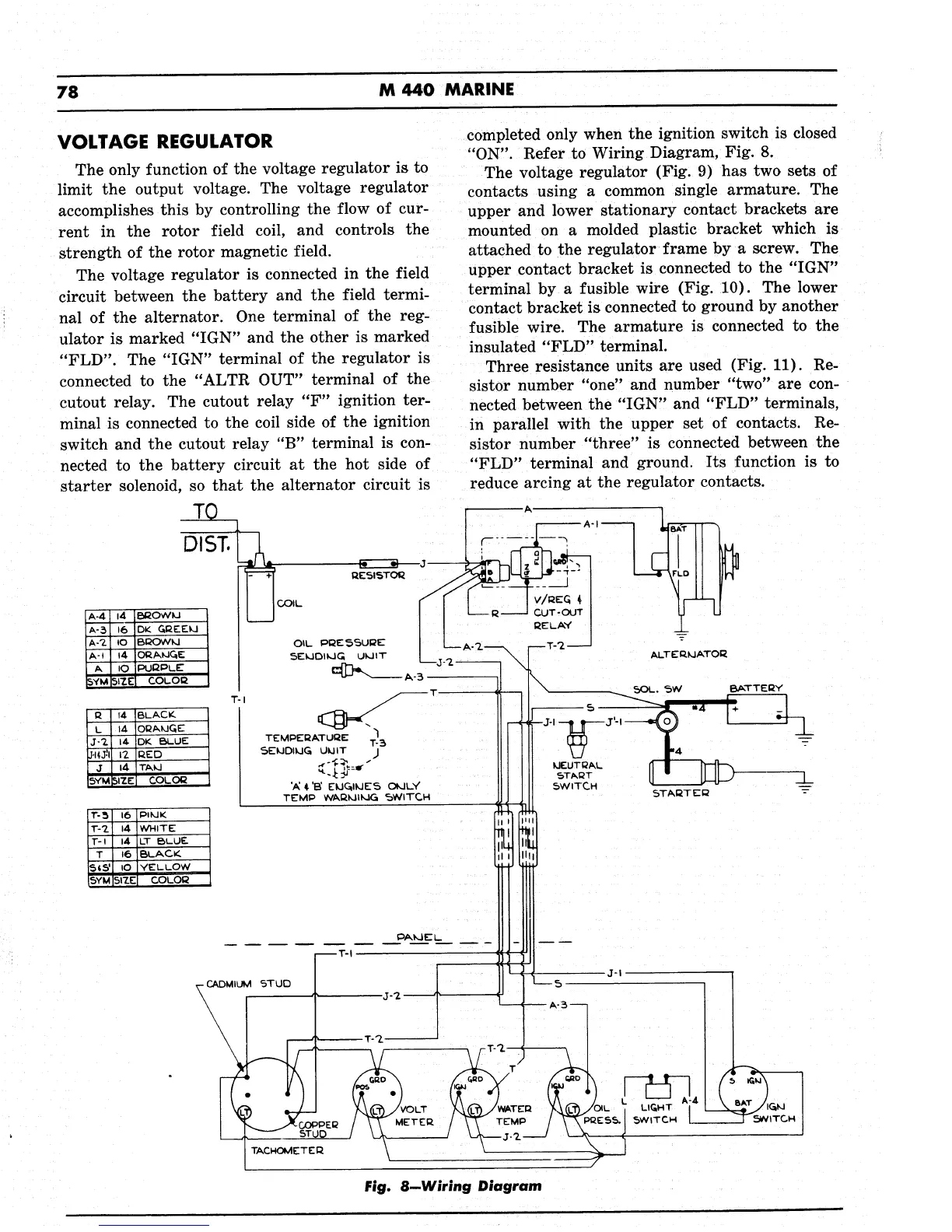
Chrysler M440
200 pages
Print Icon
To Next Page IconTo Next Page
To Next Page IconTo Next Page
To Previous Page IconTo Previous Page
To Previous Page IconTo Previous Page
Loading...

Table of Contents

Related product manuals