EasyManua.ls Logo

CIRRUS DESIGN SR22 - Page 190

CIRRUS DESIGN SR22
506 pages
Print Icon
To Next Page IconTo Next Page
To Next Page IconTo Next Page
To Previous Page IconTo Previous Page
To Previous Page IconTo Previous Page
Loading...
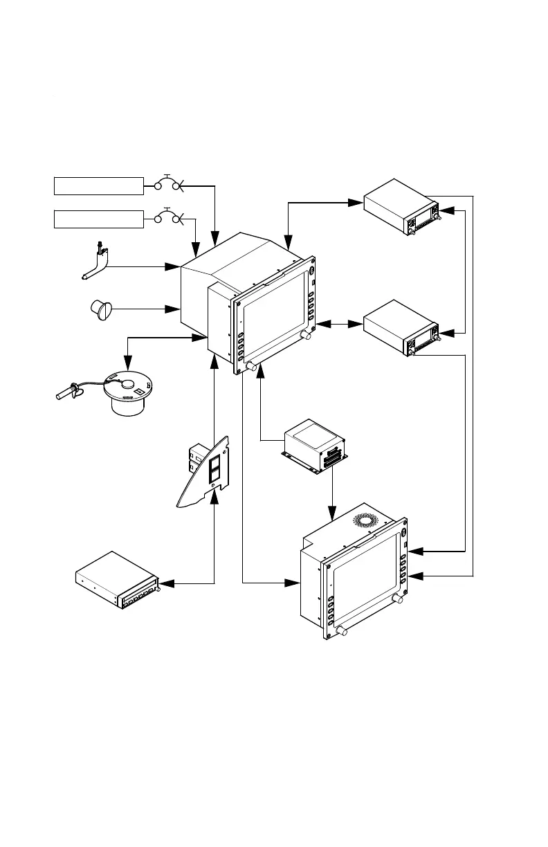
7-22 Information Manual
Section 7 Cirrus Design
Airplane Description SR22
Figure 7-5
MAIN BUS 2
ESSENTIAL BUS
Avidyne PFD
SR22_FM07_1607B
PFD 1
10
PFD 2
10
PITOT
STATIC
Avidyne MFD
STEC System 55x
Autopilot
Data Aquisition Unit
OAT Sensor /
Magnetometer
#2 GNS-430
GPS
#1 GNS-430
GPS
A
P
O
N
Flight Director System
(Optional)
A
P
O
F
F
F
D
O
N
PFD System - Simplified Schematic
March 2010

Table of Contents