EasyManua.ls Logo

CIRRUS DESIGN SR22 - Page 78

CIRRUS DESIGN SR22
506 pages
Print Icon
To Next Page IconTo Next Page
To Next Page IconTo Next Page
To Previous Page IconTo Previous Page
To Previous Page IconTo Previous Page
Loading...
3A-8 Information Manual
Section 3A Cirrus Design
Abnormal Procedures SR22
FAN
COMPRESSOR/
CONTROL
A/C 2
CONDENSER
A/C 1
ANNUN/ENGINE INST
TURN
COORD. #1
ATTITUDE #1
HSI/PFD #1
STALL
WARNING
BATTERY 2
ALT 2
ESSENTIAL
POWER
AUTOPILOT
AVIONICS
COM 1
GPS 1
STARTER
RELAY
PITOT HEAT/
COOLING FAN
12VDC
OUTLET
STROBE
LIGHTS
NAV LIGHTS
FLAPS
ESSENTIAL
COM 2
ENCODER/
XPONDER
WEATHER/
STORMSCOPE
AUDIO
PANEL
MFD
AVIONICS
FUEL QTY/HOBBS
INST
LIGHTS
PITCH TRIM
ICE PROTECTION
BATT
SKYWATCH/
TAWS
ROLL TRIM
ALT 1 ALT 2
AMMETER
BAT 2
BAT 1
ALT 2ALT 1
MAIN DISTRIBUTION
BUS
ESSENTIAL
DISTRIBUTION BUS
NON-ESSENTIAL
ESSENTIAL
MAIN BUS 1
ALT 1
CABIN
LIGHTS
HSI/PFD #2
ATTITUDE #2
TURN
COORD. #2
MAIN BUS 2
FUEL PUMP
NON-ESSENTIAL
GPS 2
SR22_FM03_1453D
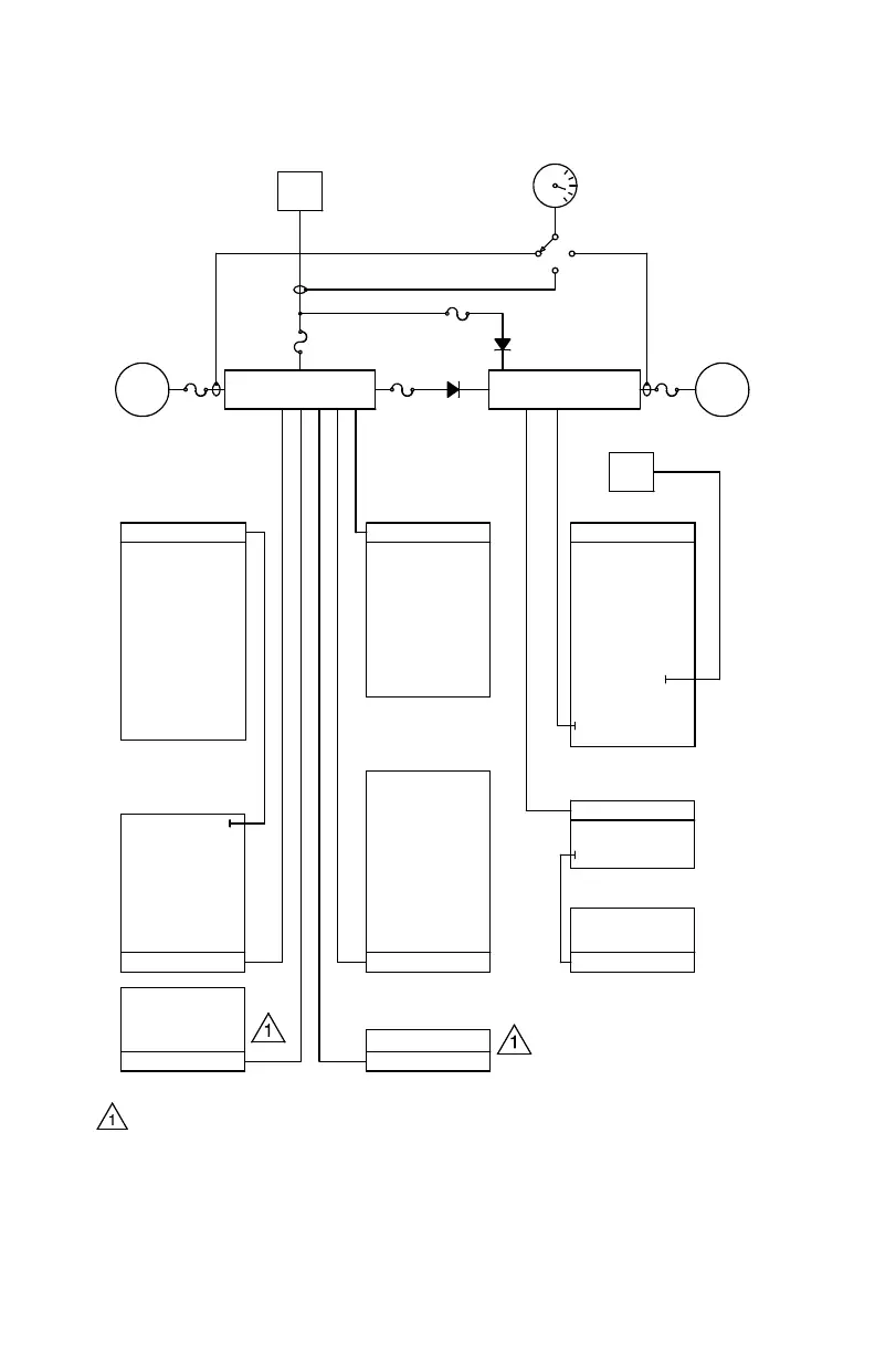
Serials 1602, 1821, 1840, 1863 & subs with optional Air Conditioning
system installed.
NOTE
Figure 3A-1
Electrical Power Distribution (Simplified)
March 2010

Table of Contents