EasyManua.ls Logo

Citizen J304 - Special Functions of Solar-Powered Watches

Citizen J304
25 pages
Print Icon
To Next Page IconTo Next Page
To Next Page IconTo Next Page
To Previous Page IconTo Previous Page
To Previous Page IconTo Previous Page
Loading...
10
8. Special Functions of Solar-Powered Watches
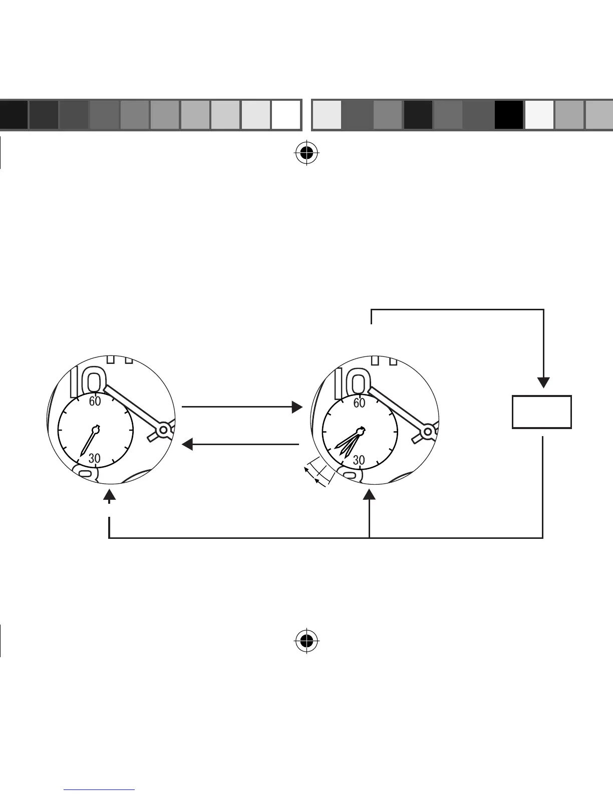
This watch is provided with a function that causes a warning function to be activated when the
watch is sufficiently charged that alters the display to inform the wearer of insufficient charge.
When the watch is exposed to light,the Quick Start Function will begin operating and the
second hand will start moving. The correct time can be set once the watch is fully charged.
If insufficiently chargeed state (2-second interval
movement) continues for 3 days or more
[Insufficient recharging
warning feature display]
[Normal time display]
If insufficiently charged
If charged sufficiently
Stops
One second
interval movement
Two second
interval movement
If insufficiently charged
and time is set
B8109-EN_rev.indd 10B8109-EN_rev.indd 10 06.11.29 3:00:44 PM06.11.29 3:00:44 PM

Other manuals for Citizen J304

Related product manuals