EasyManua.ls Logo

Coleman CDB804AZ3 - Telescope Assembly Instructions; Tripod Setup and Accessory Tray

Coleman CDB804AZ3
16 pages
Print Icon
To Next Page IconTo Next Page
To Next Page IconTo Next Page
To Previous Page IconTo Previous Page
To Previous Page IconTo Previous Page
Loading...
4
I. ASSEMBLY:
1) Carefully remove all parts from the cardboard cartons and lay them on a table, floor or other
flat surface in order to take an inventory of all the pieces. Keep your box for storage or in
case you ever need to ship your telescope.
2) Tripod Set Up:
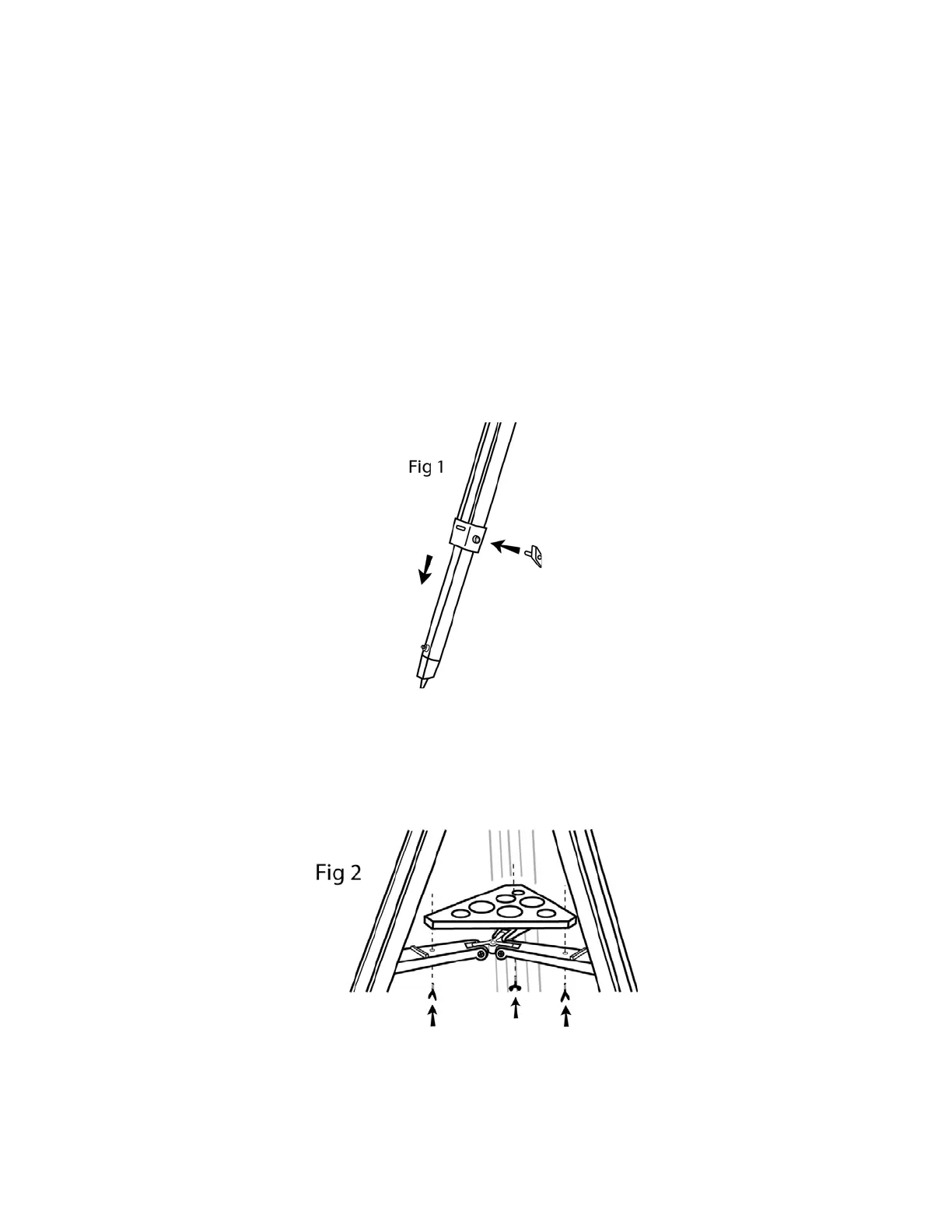
A. Adjusting the Tripod Legs (Fig.1)
1. Slowly loosen the height adjustment clamp and gently pull out the lower section of
each tripod leg. Tighten the screws to hold the legs in place (see Fig 1).
2. Spread the tripod legs apart to stand the tripod upright.
3.
Adjust the height of each tripod leg until the tripod head is properly leveled. Note that
the tripod legs may not be at same length when the AZ3 mount is level.
B. ATTACHING THE ACCESSORY TRAY (Fig. 2)
1. Align the accessory tray with the bracket, and secure from underneath (see Fig 2).

Related product manuals